back to
>
Roth / TORO
>
Hand operated
>
Lawnmower
>
2-stroke SP
>
239
>
320000
>
Blade Assy.
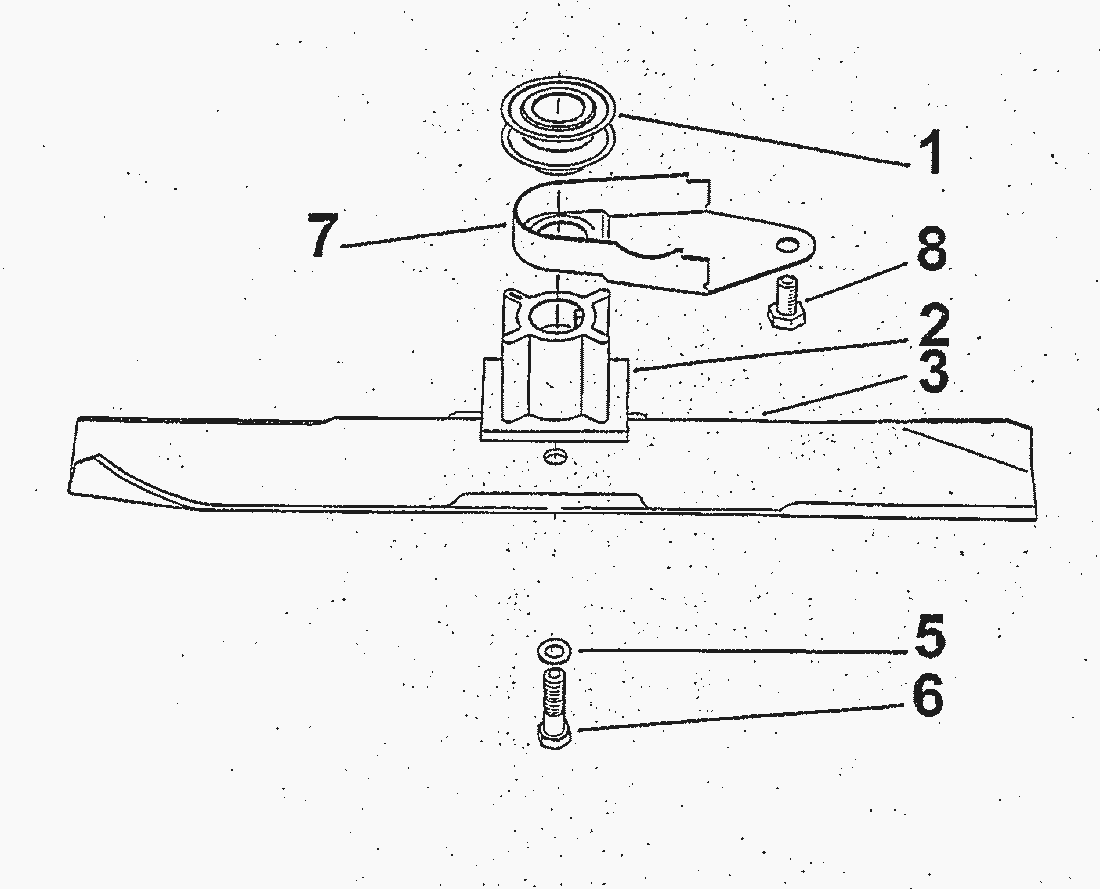
Spare Parts Lists for Toro Roth / TORO Blade Assy.
pos.
decription
spare part number
1
19369
2
19363
3
20007
5
19364
6
19365
7
19439
8
SCHRAUBE
07193
Lists
Toro
Roth / TORO
Ride-On Mowers
Hand operated
Sweeper
Snowthrower
Vac/Blower
Lawnmower
Grass Baggers
4-stroke SP
4-stroke
2-stroke SP
295/26643
295/26643 B
295/26640 BC
295/26640 B
287/20916B
277
255/22700 BC
255/22700
239
330000
320000
Carburetor Assy.
Flywheel + Ignition Assy.
Recoil Starter Assy.
Engine Governor Assy. 47PS 5-7
ShortBlock Assy. 47PS 5-6
Muffler Assy.
Engine Stopp Assy. 47PS 5-6
Engine Assy.
Motor
Bag
Handle Control
Handle
Gearbox
Drive Assy.
Blade Assy.
Mower
237/22045
237/22045 B
237/22044 BC
237/22036
237/22035
234
224
222/16212 WG
2-stroke
Electric
Battery
Robin
Terms and Conditions
(C) by motoruf