back to
>
Roth / TORO
>
Ride-On Mowers
>
Traktor
>
14-38 HXL
>
392/71219
>
7900001
>
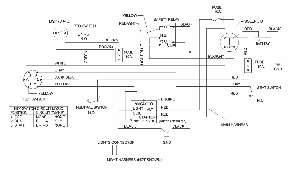
Electrical Schematic
Spare Parts Lists for Toro Roth / TORO Electrical Schematic
pos.
decription
spare part number
Fuse-10A
218-578
Lists
Toro
Roth / TORO
Ride-On Mowers
Traktor
264-6
246 HE
244-5
212-H
212-5
17-44 HXLE
16-44 HXL
16-38 HXL
16-38 XLE
15-44 HXL
15-38 HXL
14-38 HXL
392/71219
8900001
7900001
Engine B&S Model 28N777-174-01
Engine B&S Model 28N777-0174-01
Electrical Schematic
Electrical Assy.
HOC Assy.
Speed Control Assy.
Transaxle Assy.
Rear Wheel Assy.
Clutch Assy.
Engine & Fuel Tank Assy.
Steering Assy.
Front Axle Assy.
Seat Assy.
Hood Assy.
Frame Assy.
392/71217
14-38 XL
13-38 HXL
13-38 XL
13-32 XLE
12-38 HXL
12-38 XL
12-32 XL
264 H
265 H
267 H
268 H
270 H
520 xi
520 Lxi
523 Dxi
Rider
Mower decks
Attachements
Hand operated
Robin
Terms and Conditions
(C) by motoruf