back to
>
Roth / TORO
>
Hand operated
>
Lawnmower
>
4-stroke SP
>
434
>
330000
>
Engine B&S
Spare Parts Lists for Toro Roth / TORO Engine B&S
spare parts list 1
spare parts list 2
spare parts list 3
spare parts list 4
spare parts list 5
spare parts list 6
spare parts list 7
spare parts list 8
spare parts list 9
pos.
decription
spare part number
1
Cylinder Assembly
499678
2
Bushing
399269
3
Seal-Oil
299819
8
Breather-Valve Chamber
495786
9
Gasket-Breather
272481
10
Screw (Breather Assembly)
691125
11
Tube-Breather
691260
287
Screw-Hex Head
94511
306
Shield-Cylinder
691232
307
Cylinder Shield
690345
523
Dipstick
499621
524
Seal-O-Ring
280966
525
Tube-Oil Filler
495265
584
Breather Passage Cover
692342
585
Gasket-Baffle Plate
272238
684
Cylinder Shield
690345
718
Pin-Cylinder
230192
842
Seal-Filler Tube
280393
847
*** keine Bezeichnung vorhanden
498715
pos.
decription
spare part number
5
*** keine Bezeichnung vorhanden
694328
7
*** keine Bezeichnung vorhanden
273240
13
Screw(Cylinder Head)
691137
33
Exhaust Valve
499642
34
Intake Valve
499641
35
Valve Spring(Intake)
691304
36
Valve Spring(Intake)
691304
40
Retainer, Valve Spring
93312
45
Tappet-Valve
262679
51
Gasket-Intake
692668
122
Gasket-Intake
692799
155
*** keine Bezeichnung vorhanden
691231
189
Adjuster-Rocker Arm
694543
238
Valve Cap
691300
337
*** keine Bezeichnung vorhanden
499608
383
Wrench-Spark Plug
89838
619
Screw(Flywheel Guard)
691108
635
Elbow-Spark Plug
66538
830
Stud-Rocker Arm
694544
868
*** keine Bezeichnung vorhanden
498592
883
*** keine Bezeichnung vorhanden
273348
.914
Screw(Flywheel Guard)
691108
993
*** keine Bezeichnung vorhanden
273346
1022
Rocker Cover Gasket
691890
1023
*** keine Bezeichnung vorhanden
499624
1026
*** keine Bezeichnung vorhanden
498597
1029
*** keine Bezeichnung vorhanden
691240
1034
Push Rod Guide
691343
pos.
decription
spare part number
4
Sump-Engine
499619
12
Gasket-Crankcase
272198
15
Plug-Oil Drain
94880
16
KURBELWELLE
691458
20
Seal-Oil
399781
22
Screw(Engine Sump)
691092
24
Key-Flywheel
222698
25
Piston Assembly (Standard)
499627
26
Ring Set(Standard)
499631
27
Lock-Piston Pin
263190
28
Pin-Piston (Standard)
499423
29
Rod Assembly- Connecting
499424
32
Screw-Connecting Rod
94699
43
Oil Slinger Gear and Brkt.
493737
46
Camshaft
694039
146
Timing Gear Key.
94388
741
Gear-Timing
262598
pos.
decription
spare part number
95
Screw-Throttle Valve Mounting Sem
94098
97
Shaft-Throttle
499682
104
Float Hinge Pin
691242
117
Jet-Main (Std.) Note: 497315 Jet-Main (High Altitude)
494870
Screw-Bowl Mtg. (Std.) Note: 496495 Screw Bowl Mtg.(High Altitude)
497315
125
Carburetor
694202
127
Welch Plug
694468
130
Throttle Valve
691203
133
Float Assy.-Carburetor
398187
134
Valve-Inlet (Includes Seat)
398188
137
Gasket-Float Bowl
280492
163
*** keine Bezeichnung vorhanden
273364
276
Sealing-Gasket
271716
365
Screw (Carburetor)
691136
708
Dust Seal
691321
975
Bowl Assembly-Carburetor
493640
pos.
decription
spare part number
188
Screw (Control Bracket)
693168
202
Link-Mechanical Governor
691303
209
*** keine Bezeichnung vorhanden
263044
222
*** keine Bezeichnung vorhanden
692618
227
Lever-Governor Control
691467
333
Armature-Magneto
802574
334
Screw-Armature Mounting
94731
356
Stop Wire
692390
404
Washer(Governor Crank)
690272
505
Nut-Hex.-10-24
231082
562
Bolt-Carriage
94852
615
Governor Shaft Retainer
690340
616
Governor Crank
691306
621
Switch-Stop
396847
745
Screw-Hex. Head
94512
851
Terminal-Ignition Cable
493880
922
Spring-Brake
262640
923
Brake Assembly
493442
pos.
decription
spare part number
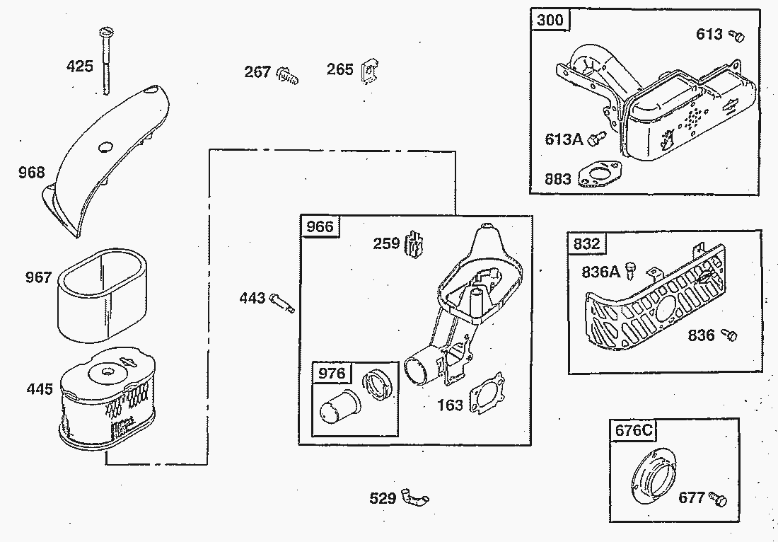
259
Bracket-Casing Clamp
691189
265
*** keine Bezeichnung vorhanden
213146
267
*** keine Bezeichnung vorhanden
94882
300
*** keine Bezeichnung vorhanden
692275
425
Screw (Air Cleaner Cover)
690244
443
Screw (Air Cleaner Primer Bracket)
690255
445
*** keine Bezeichnung vorhanden
498596
529
Grommet
692937
613
Screw(Flywheel Guard)
691108
613A
Screw (Muffler)
691140
676C
*** keine Bezeichnung vorhanden
497682
677
Screw-Hex. Head
94896
832
Guard-Muffler
691466
836
Screw-Hex.
94874
836A
Screw-Hex. Washer Hd.
94786
966
*** keine Bezeichnung vorhanden
499684
967
Pre Cleaner Filter
273356
968
*** keine Bezeichnung vorhanden
691342
976
Primer-Carburetor
496115
pos.
decription
spare part number
23
*** keine Bezeichnung vorhanden
692452
37
Guard-Flywheel
224511
78
Screw(Flywheel Guard)
691108
187
Pipe-Fuel
296004
190
Screw-Hex Head
94511
304
Housing-Blower
499677
305
*** keine Bezeichnung vorhanden
691106
332
Nut-Flywheel
94877
363
Flywheel Puller (Optional Accessory)
19069
455
Flywheel Cup
691219
601
Clamp-Hose
95162
670
Spacer-Fuel Tank
280512
921
*** keine Bezeichnung vorhanden
691465
957
*** keine Bezeichnung vorhanden
498697
969
Screw (Blower Housing Cover)
691138
972
Tank-Fuel
499618
1005
Fan-Flywheel
691346
1059
Screw-Tank Mounting (Includes Washer)
398540
pos.
decription
spare part number
55
Rewind Starter Housing
691421
56
Pulley-Rewind Starter
498144
57
Pulley-Rewind Starter
498144
58
280399
60
Starter Rope Grip
281434
65
Screw-Hex.
94904
456
Retainer-Rewind Starter
281503
459
Pawl-Starter
281505
592
Nut-Hex.
94908
597
Pin-Starter
94943
608
Starter Assy.-Rewind
497680
689
Spring-Torsion
263073
pos.
decription
spare part number
121
Kit-Carburetor Overhaul
692703
358
*** keine Bezeichnung vorhanden
692702
977
Gasket Set-Carburetor
692704
987
Dust Seal
691321
993
*** keine Bezeichnung vorhanden
693257
1022
*** keine Bezeichnung vorhanden
273241
1033
*** keine Bezeichnung vorhanden
692705
Lists
Toro
Roth / TORO
Ride-On Mowers
Hand operated
Sweeper
Snowthrower
Vac/Blower
Lawnmower
Grass Baggers
4-stroke SP
498/26638
498/26633
498/26633 B
498/26631 B
496/26639
496/26636
496/26636 B
496/26635 BC
496/26625 BG
495/26637
495/26632
495/26632 B
495/26630 BC
495/26630 BG
495/26620 BG
494/20784
494/20791
493/20783
493/20789
492/20787
492/20778
491/20786
491/20777
491/20328 B
490/20327 B
489/20927 B
489/20926 B
489/20925
488/20920
487/20914
487/20909 BC
487/20905
479
477
469
465/20781
465/20779
464
459/20824
459/20821
459/20821 B
459/20820 BC
458/20823
458/20822
457
456/20808
456/20808 B
456/20807 BC
456/20806 B
455/20803
455/20803 B
455/20802 BC
455/20801 B
453
449
439
437/22173
437/22157
437/22154
437/22154 B
437/22153 BC
434
350000
340000
330000
Engine B&S
Gearbox
Desking Kit
Partslist
320000
310000
300000
290000
280000
270000
260000
250000
240000
424
421/20652
417/20832
417/20829
417/20827
416/20831
416/20828
416/20826
415/20817
415/20811
4-stroke
2-stroke SP
2-stroke
Electric
Battery
Robin
Terms and Conditions
(C) by motoruf