back to
>
Roth / TORO
>
Hand operated
>
Lawnmower
>
2-stroke
>
223
>
340000
>
Engine Stop Assy.
Spare Parts Lists for Toro Roth / TORO Engine Stop Assy.
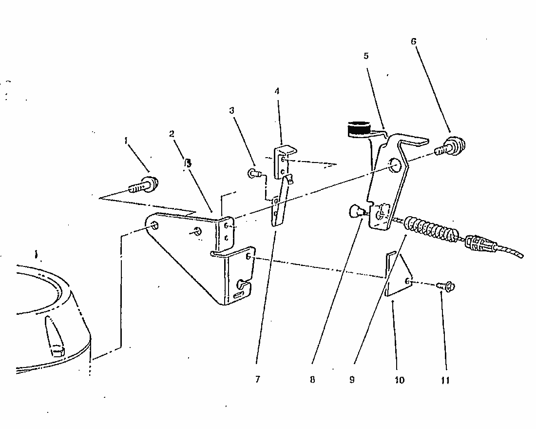
pos.
decription
spare part number
1
SCHRAUBE
46-0790
2
PLATTE
14-6009
3
NIETE
3290-459
4
ISOLIERSTUECK
77-5260
5
HALTEPLATTE KPL.
66-5380
6
SCHRAUBE
92-9698
7
FEDERBLECH
60-9010
8
BOWDENZUG
56-6093
9
19249
10
ABDECKUNG
52-6790
11
SCHRAUBE
12-5450
Lists
Toro
Roth / TORO
Ride-On Mowers
Hand operated
Sweeper
Snowthrower
Vac/Blower
Lawnmower
Grass Baggers
4-stroke SP
4-stroke
2-stroke SP
2-stroke
286/20911 B
286/20910
276
233
223
350000
340000
Carburetor
Flywheel and Ignition
Recoil Starter
Engine Governor Assy.
ShortBlock Assy.
Muffler
Engine Assy.
Engine Stop Assy.
Motor
Partslist
330000
320000
310000
300000
290000
280000
270000
260000
250000
240000
230000
Electric
Battery
Robin
Terms and Conditions
(C) by motoruf