back to
>
Roth / TORO
>
Hand operated
>
Lawnmower
>
4-stroke SP
>
434
>
300000
>
Gearbox
Spare Parts Lists for Toro Roth / TORO Gearbox
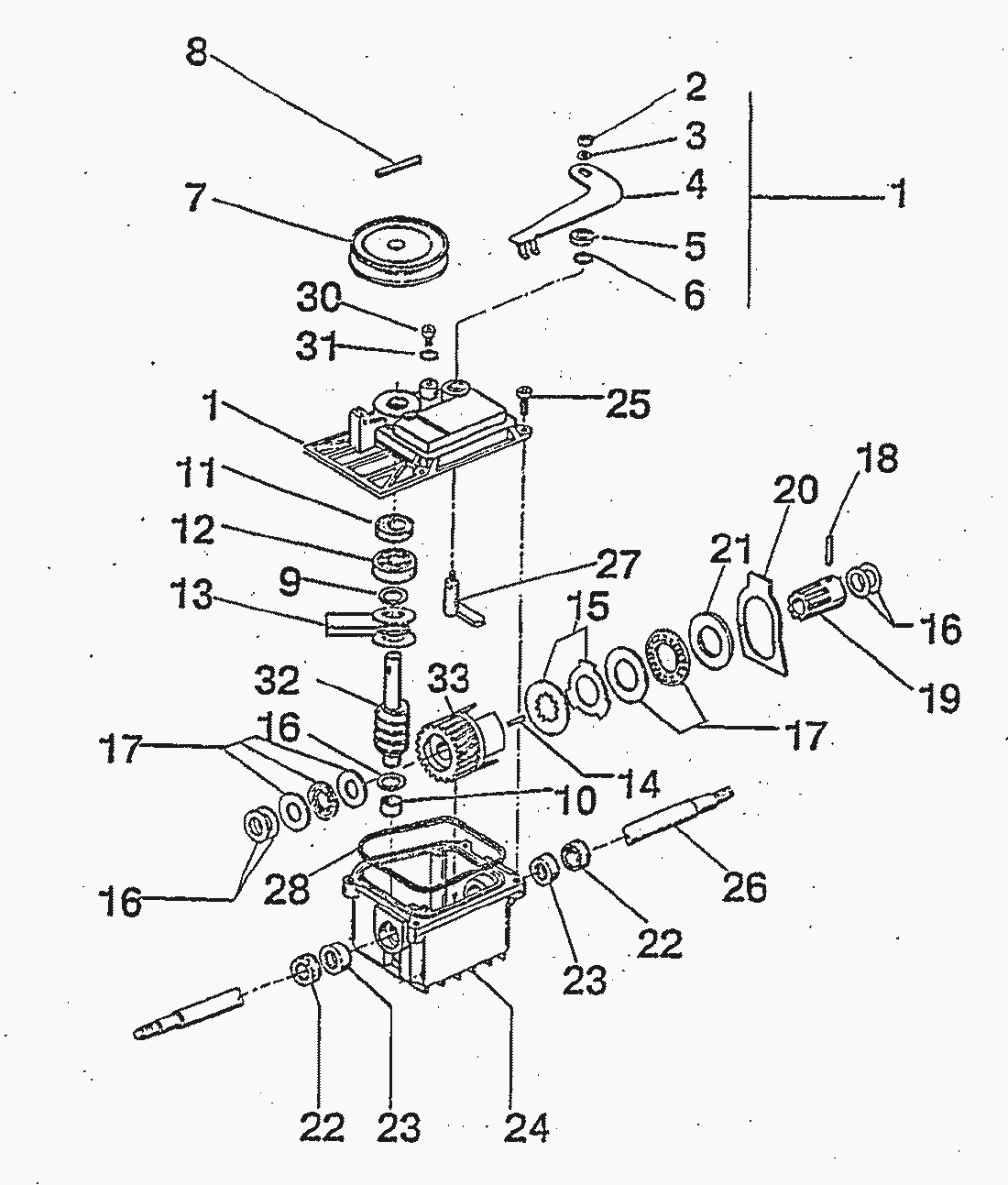
pos.
decription
spare part number
1
GETRIEBEDECKEL
18152
2
MUTTER
13041
3
SCHEIBE
13043
4
HEBEL
18129
5
WELLENDICHTRING
17803
6
O-RING
18131
7
RIEMENSCHEIBE
19351
8
SPANNSTIFT
18209
9
TOPFSCHEIBE
18158
10
LAGERBUCHSE
18134
11
WELLENDICHTRING
17802
12
0600129920
13
AXIAL-RILLENKUGELLAGER
17801
14
SPANNHUELSE
18138
15
KUPPLUNGSSCHEIBEN-SATZ
18139
16
SGLEICHSSCHEIBEN-SATZ
18140
17
AXIALLAGER-SATZ KOMPL.
18141
18
SPANNHUELSE
07211
19
MITNEHMER
18142
20
KUPPLUNGSSCHALTGABEL
18143
21
SCHEIBE
18144
22
WELLENDICHTRING
18145
23
NADELLAGER
18146
24
GETRIEBEGEHAEUSE
18147
25
LINSENSCHRAUBE
07673
26
ANTRIEBSWELLE
18149
27
HEBEL
18150
28
DECKELDICHTUNG
18151
30
SCHRAUBE
01312
31
KUPFERDICHTUNG
18157
32
SCHNECKE F. PROFIGETRIEBE
18108
33
SCHNECKENRAD
18669
Lists
Toro
Roth / TORO
Ride-On Mowers
Hand operated
Sweeper
Snowthrower
Vac/Blower
Lawnmower
Grass Baggers
4-stroke SP
498/26638
498/26633
498/26633 B
498/26631 B
496/26639
496/26636
496/26636 B
496/26635 BC
496/26625 BG
495/26637
495/26632
495/26632 B
495/26630 BC
495/26630 BG
495/26620 BG
494/20784
494/20791
493/20783
493/20789
492/20787
492/20778
491/20786
491/20777
491/20328 B
490/20327 B
489/20927 B
489/20926 B
489/20925
488/20920
487/20914
487/20909 BC
487/20905
479
477
469
465/20781
465/20779
464
459/20824
459/20821
459/20821 B
459/20820 BC
458/20823
458/20822
457
456/20808
456/20808 B
456/20807 BC
456/20806 B
455/20803
455/20803 B
455/20802 BC
455/20801 B
453
449
439
437/22173
437/22157
437/22154
437/22154 B
437/22153 BC
434
350000
340000
330000
320000
310000
300000
Engine GTS
Gearbox
Desking Kit
Partslist
290000
280000
270000
260000
250000
240000
424
421/20652
417/20832
417/20829
417/20827
416/20831
416/20828
416/20826
415/20817
415/20811
4-stroke
2-stroke SP
2-stroke
Electric
Battery
Robin
Terms and Conditions
(C) by motoruf