back to
>
Roth / TORO
>
Hand operated
>
Lawnmower
>
4-stroke SP
>
477
>
320000
>
Handle
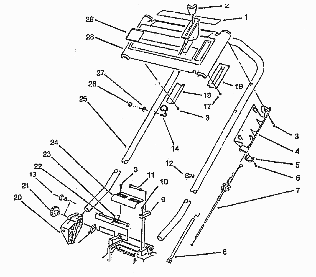
Spare Parts Lists for Toro Roth / TORO Handle
pos.
decription
spare part number
1
PVC-KLEBESCHILD INFO
19704
2
Sparkplug Wrench
19374
3
SCHRAUBE
18346
4
19099
5
18363
6
18364
7
19901
8
BOWDENZUG - MOTORSTOP
19900
9
HALTELASCHE
18311
10
SCHRAUBE
18481
11
HOLMSCHRAUBE-LINKS
18310
12
KLETTBAND
19533
13
ROHRNIETE
20128
14
18960
17
SCHRAUBE
18372
18
18517
19
18516
20
HOLMBEFESTIGUNG RECHTS
20216
20
20215
21
DREHKNOPF
18320
22
HOLMSCHRAUBE-RECHTS
18309
23
SCHENKELFEDER
18312
24
GRIFFDECKEL
18345
25
20015
26
HUTMUTTER
13891
27
SCHEIBE
07674
28
19693
29
18408
Lists
Toro
Roth / TORO
Ride-On Mowers
Hand operated
Sweeper
Snowthrower
Vac/Blower
Lawnmower
Grass Baggers
4-stroke SP
498/26638
498/26633
498/26633 B
498/26631 B
496/26639
496/26636
496/26636 B
496/26635 BC
496/26625 BG
495/26637
495/26632
495/26632 B
495/26630 BC
495/26630 BG
495/26620 BG
494/20784
494/20791
493/20783
493/20789
492/20787
492/20778
491/20786
491/20777
491/20328 B
490/20327 B
489/20927 B
489/20926 B
489/20925
488/20920
487/20914
487/20909 BC
487/20905
479
477
350000
335000
330000
320000
Engine B&S
Bag
Handle Control
Handle
Blade
Gearbox
Motor
Deck Assy.
Drive Assy.
310000
300000
290000
280000
270000
260000
250000
469
465/20781
465/20779
464
459/20824
459/20821
459/20821 B
459/20820 BC
458/20823
458/20822
457
456/20808
456/20808 B
456/20807 BC
456/20806 B
455/20803
455/20803 B
455/20802 BC
455/20801 B
453
449
439
437/22173
437/22157
437/22154
437/22154 B
437/22153 BC
434
424
421/20652
417/20832
417/20829
417/20827
416/20831
416/20828
416/20826
415/20817
415/20811
4-stroke
2-stroke SP
2-stroke
Electric
Battery
Robin
Terms and Conditions
(C) by motoruf