back to
>
Roth / TORO
>
Hand operated
>
Lawnmower
>
4-stroke SP
>
449
>
330000
>
Handle
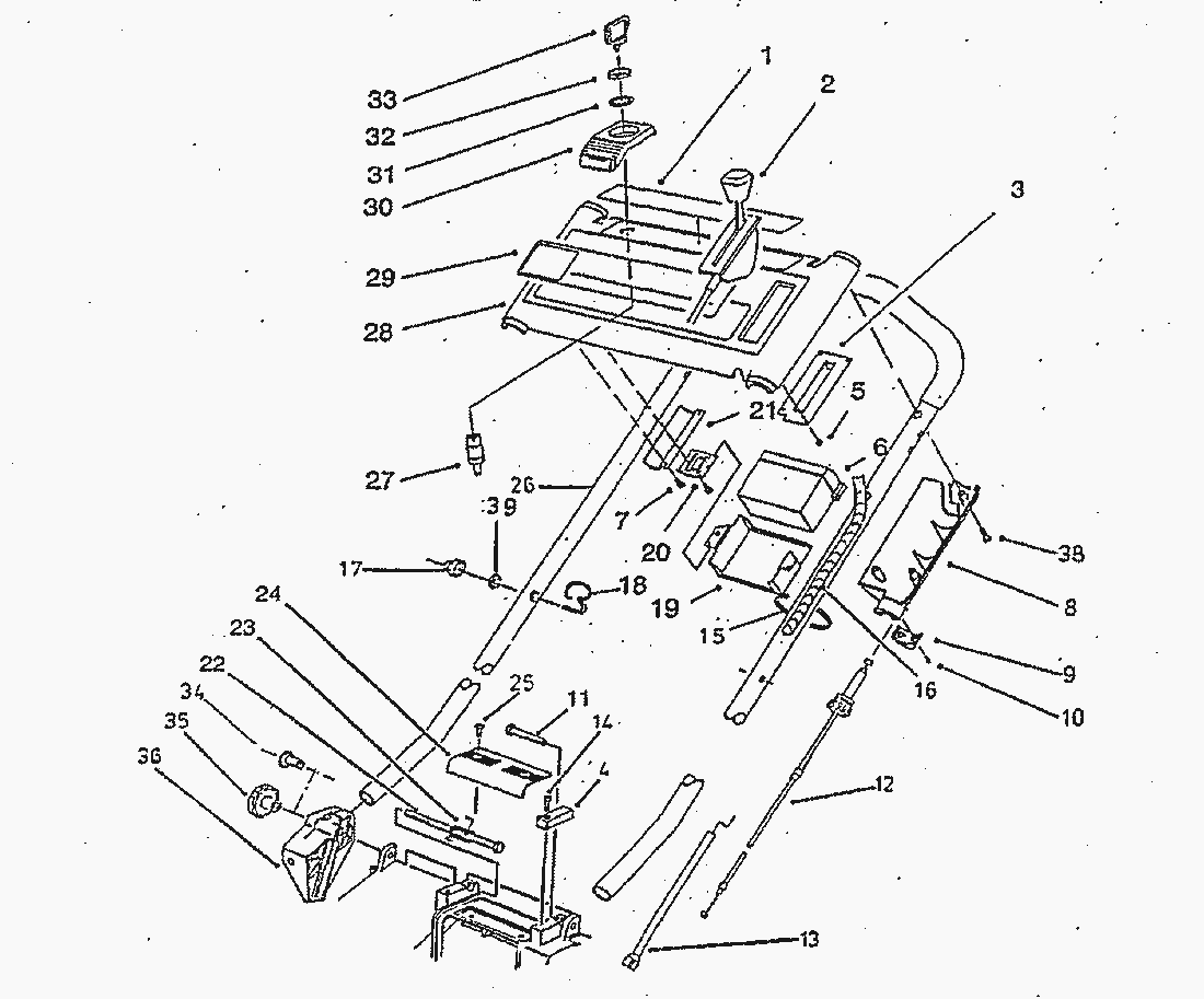
Spare Parts Lists for Toro Roth / TORO Handle
pos.
decription
spare part number
1
19917
2
Sparkplug Wrench
19374
3
18516
4
HALTELASCHE
18311
5
SCHRAUBE
18372
6
14567
7
SCHRAUBE
18346
8
19099
9
18363
10
18364
11
HOLMSCHRAUBE-LINKS
18310
12
19901
13
BOWDENZUG - MOTORSTOP
19900
14
SCHRAUBE
18481
15
KLETTBAND
19533
16
18418
17
HUTMUTTER
13891
18
18960
19
14565
20
18413
21
18517
22
HOLMSCHRAUBE-RECHTS
18309
23
SCHENKELFEDER
18312
24
GRIFFDECKEL
18345
25
SCHRAUBE
18346
26
20015
27
18410
28
18409
29
18408
30
18412
31
14231
32
14232
33
18411
34
ROHRNIETE
20128
35
DREHKNOPF
18320
36
Holmbefestigung
Holmbefestigung
38
18366
39
SCHEIBE
07674
14137
Lists
Toro
Roth / TORO
Ride-On Mowers
Hand operated
Sweeper
Snowthrower
Vac/Blower
Lawnmower
Grass Baggers
4-stroke SP
498/26638
498/26633
498/26633 B
498/26631 B
496/26639
496/26636
496/26636 B
496/26635 BC
496/26625 BG
495/26637
495/26632
495/26632 B
495/26630 BC
495/26630 BG
495/26620 BG
494/20784
494/20791
493/20783
493/20789
492/20787
492/20778
491/20786
491/20777
491/20328 B
490/20327 B
489/20927 B
489/20926 B
489/20925
488/20920
487/20914
487/20909 BC
487/20905
479
477
469
465/20781
465/20779
464
459/20824
459/20821
459/20821 B
459/20820 BC
458/20823
458/20822
457
456/20808
456/20808 B
456/20807 BC
456/20806 B
455/20803
455/20803 B
455/20802 BC
455/20801 B
453
449
330000
Engine B&S
Bag
Handle Control
Handle
Engine Assy.
Blade
Gearbox
Drive Assy.
Deck Assy.
320000
310000
300000
439
437/22173
437/22157
437/22154
437/22154 B
437/22153 BC
434
424
421/20652
417/20832
417/20829
417/20827
416/20831
416/20828
416/20826
415/20817
415/20811
4-stroke
2-stroke SP
2-stroke
Electric
Battery
Robin
Terms and Conditions
(C) by motoruf