back to
>
Roth / TORO
>
Ride-On Mowers
>
Traktor
>
268 H
>
503/72103
>
4900001
>
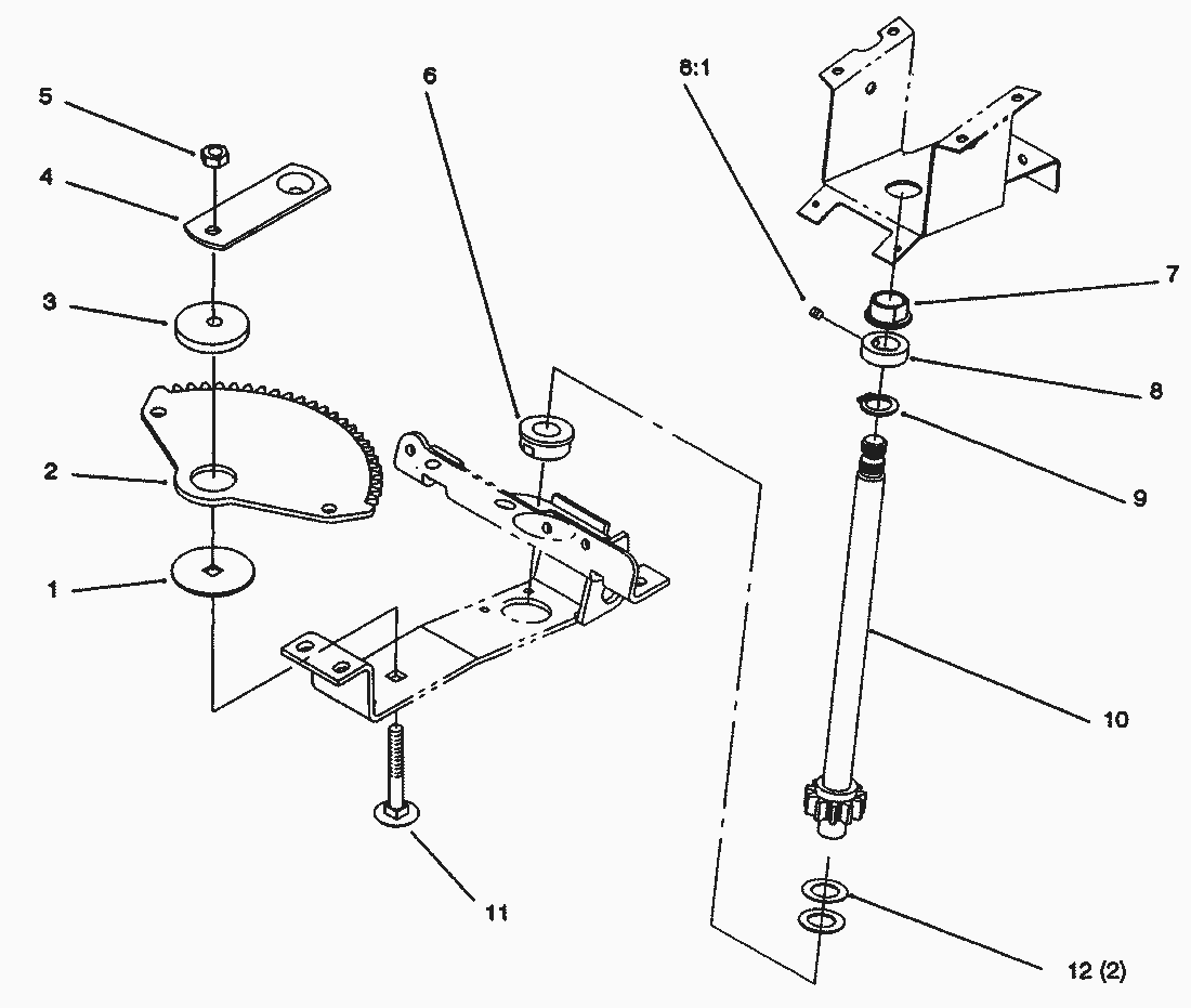
Lower Steering
Spare Parts Lists for Toro Roth / TORO Lower Steering
pos.
decription
spare part number
1
Washer
111419
2
Sector-Gear
78-2610
3
Bushing-Eccentric
111418
4
Plate
78-9150-03
5
Nut-Lock
108881
6
Bushing
110391
7
Bearing
109189
8
Collar
111383
81
Set Screw
3245-32
9
Grip Ring
111646
10
Shaft-Steering Lower
92-6702
11
Bolt-Carriage
3231-4
12
Washer-Shim (.050)
1278
Lists
Toro
Roth / TORO
Ride-On Mowers
Traktor
264-6
246 HE
244-5
212-H
212-5
17-44 HXLE
16-44 HXL
16-38 HXL
16-38 XLE
15-44 HXL
15-38 HXL
14-38 HXL
14-38 XL
13-38 HXL
13-38 XL
13-32 XLE
12-38 HXL
12-38 XL
12-32 XL
264 H
265 H
267 H
268 H
503/72103
4900001
Hood and Grill
Dash
Steering Wheel and Tilt
Lower Steering
Front Axle
Seat
Fuel Tank and Hydro Reservoir
Fender and Footrest
Hoodstand and Firewall
Lift Lever and HOC
Frame
Rear Wheel
Clutch and Brake-Gear
Crankshaft
Crankcase
Oil Pan/Lubrication
Cylinder Head/Valve/Breather
Ignition/Electrical
Blower Housing & Baffles
Start System
Fuel System
Engine Controls
Air Intake/Filtration
Exhaust
Head/Valve/Breather
Hydro Drive Components
GearDrive Components
Twin Cylinder Engine, Muffler, and P.T.O.
Single Cylinder Engine, Muffler, and P.T.O.
Clutch 92-6885
Battery
Hydro Brake
Hydro Control
Hydro Transaxle
Transaxle-Gear
GearShift Linkage
Peerlesss Transaxle 820-024
Transaxle Case
Center Case
Pump Shaft
EngineShaft
Range Shift
Bypass Return
Lever Damper
N-Centering
Brake Interlock
Differential Gear
Final Pinion
Axle Shaft
Brake
5900001
5900601
505/72105
270 H
520 xi
520 Lxi
523 Dxi
Rider
Mower decks
Attachements
Hand operated
Robin
Terms and Conditions
(C) by motoruf