back to
>
Ride-on Mowers
>
Scooter
>
SV
>
Scooter SV 4
>
VLV 60
>
Alternator
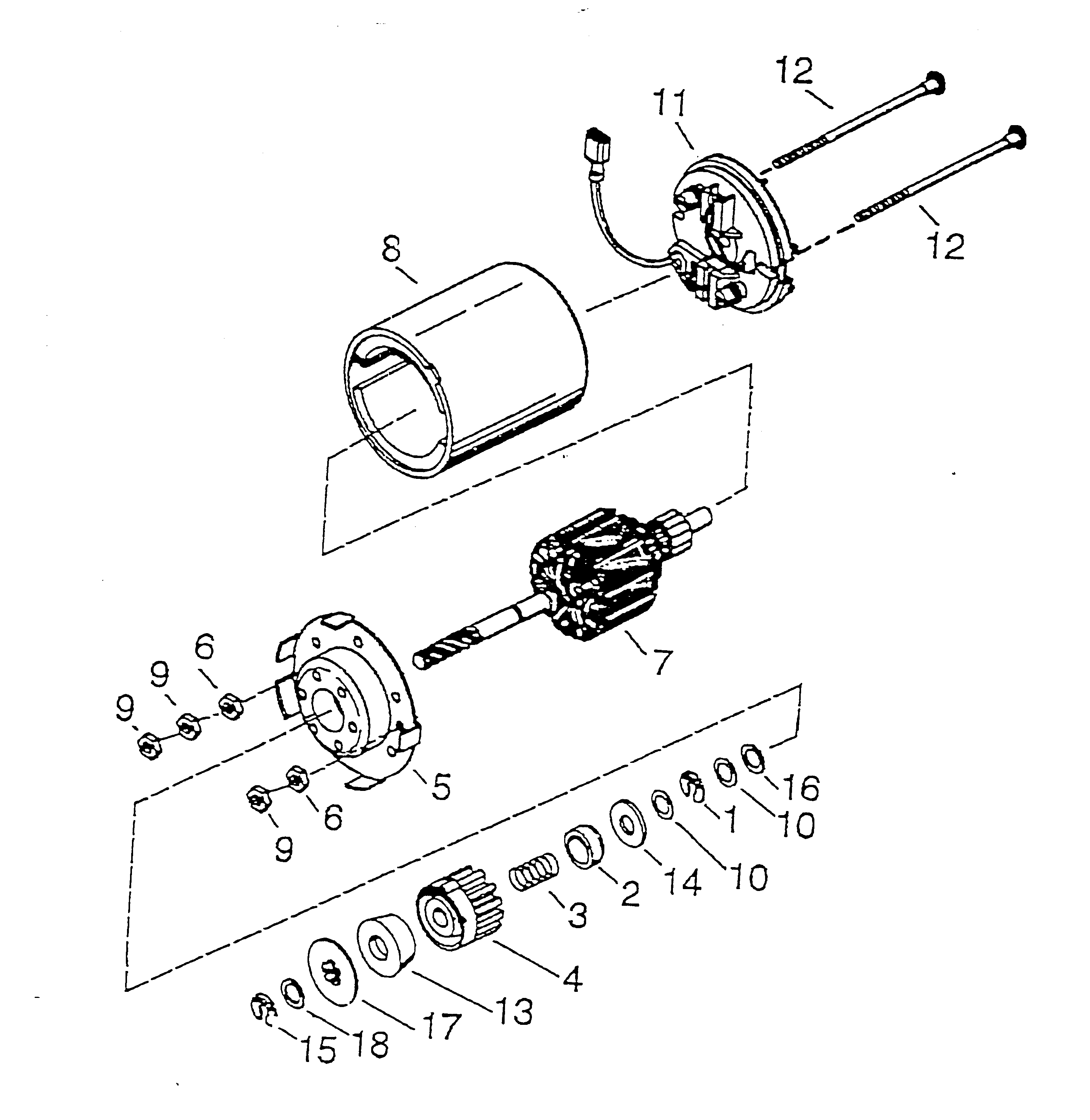
Spare Parts Lists for Wolf Ride-on Mowers Alternator
pos.
decription
spare part number
1
Arm
2032 194
2
Spring Retainer
2032 195
3
Spring
2032 228
4
Gear-Timing
2032 196
5
Support
2032 036
6
Lock Nut, 1/4"-20
2032 229
7
Armature
2032 197
8
Housing Assembly
2032 198
9
Lock Nut, 1/4"-20
2032 230
10
Thrust Washer
2032 231
11
Commutator End Cap Assy
2032 037
12
Bolt
2032 232
13
Pinion Drive
2032 199
14
Washer
2032 233
15
Arm
2032 400
16
Washer
2032 234
17
Drive Nut
2032 401
18
Dust Washer
2032 402
Lists
Wolf
Handtools
Hedge-shears
Secateurs
Grass-shears
Loppers
Tree Lopper
Tree care
Illumination, Ambiance
Battery-shears
Shredders
Saws
Grass-Trimmers
Reel-mowers
Spreaders / Portax
Irrigation
Scarifiers / Aerators
Mowers
Ride-on Mowers
Scooter
SV
Scooter SV 4
Scooter SV 4
Scooter SV 4
Scooter SV 4
Data Sheet
upper frame, steering mechanism
lower frame, height-adjustment
drive, running gear
blade drive
clutch, blade
cutter bar
front panel, covers
rear panel, seat
grass collector, rear flap
cable form SV
VLV 60
Motor
Carburetor
Alternator
Rewind - starter 1
Rewind - starter 2
Scooter SV 4
Scooter SV 4
Scooter SV 4
OHV
Moto Verte
Gear
Cart
Trac
Petrol engines
Optional extras
Terms and Conditions
(C) by motoruf