back to
>
Petrol engines
>
Tecumseh
>
Centura
>
Centura 65 SV
>
Carburetor
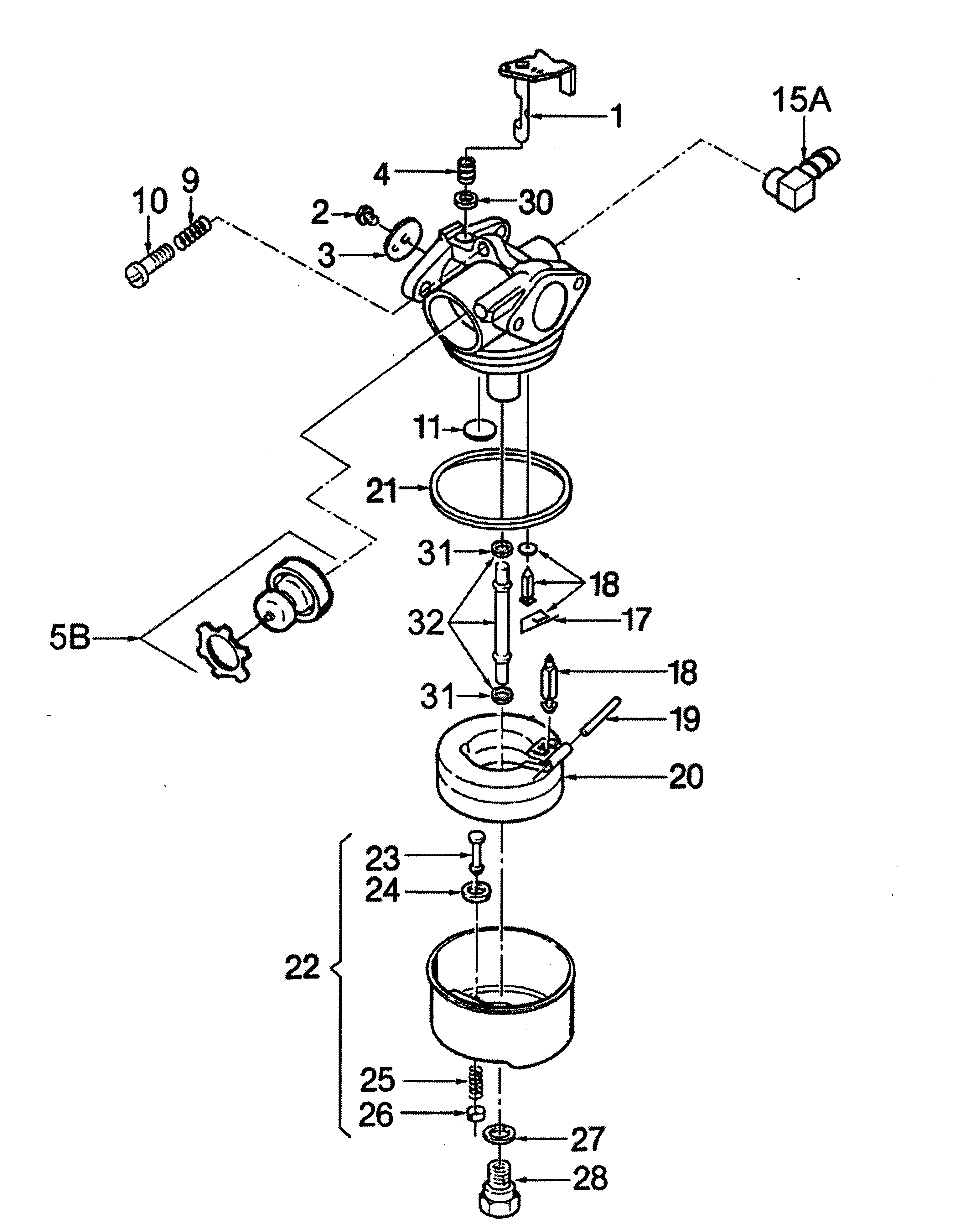
Spare Parts Lists for Wolf Petrol engines Carburetor
pos.
decription
spare part number
1
Throttle Shaft & Lever Assy.
2087 450
2
Throttle Shutter Screw 4-40
2087 452
3
Throttle Valve
2034 138
4
Throttle Return Spring
2034 139
5B
Primer Bulb & Retainer
2034 020
9
Spring
2034 140
10
Screw
2034 141
11
Welch Plug
2087 454
15A
Connector-Fuel
2087 463
17
Support
2087 456
18
Fuel Needle Assy. Inc. -17
2087 455
19
Float Shaft
2087 458
20
Float-Carburetor
2087 457
21
Seal
2087 462
22
Float Bowl Assy.
2034 307
23
Bowl Drain Stern
1032 451
24
Seal
1032 449
25
Spring
1032 447
26
Arm
1032 446
27
Seal
2034 142
28
Main Jet
2038 130
30
Dust Seal
1038 414
31
Seal-O Ring
2038 127
32
Repair Kit
2038 131
***
Carburetor
2034 013
Lists
Wolf
Handtools
Hedge-shears
Secateurs
Grass-shears
Loppers
Tree Lopper
Tree care
Illumination, Ambiance
Battery-shears
Shredders
Saws
Grass-Trimmers
Reel-mowers
Spreaders / Portax
Irrigation
Scarifiers / Aerators
Mowers
Ride-on Mowers
Petrol engines
Tecumseh
Prisma
Centura
Centura 50 DX
Centura 40 S
Centura 45 E
Centura 55 LX KAT E-62101
Centura 65 SV
Engine
Carburetor
Electro starter
Centura 65 OHV
Futura
Synergy
Vantage
VLV
Briggs & Stratton
Honda
Kawasaki
Optional extras
Terms and Conditions
(C) by motoruf