back to
>
Mowers
>
Electro
>
Drive
>
Concept
>
Concept 43 EA
>
Chassis, add-on pieces
Spare Parts Lists for Wolf Mowers Chassis, add-on pieces
pos.
decription
spare part number
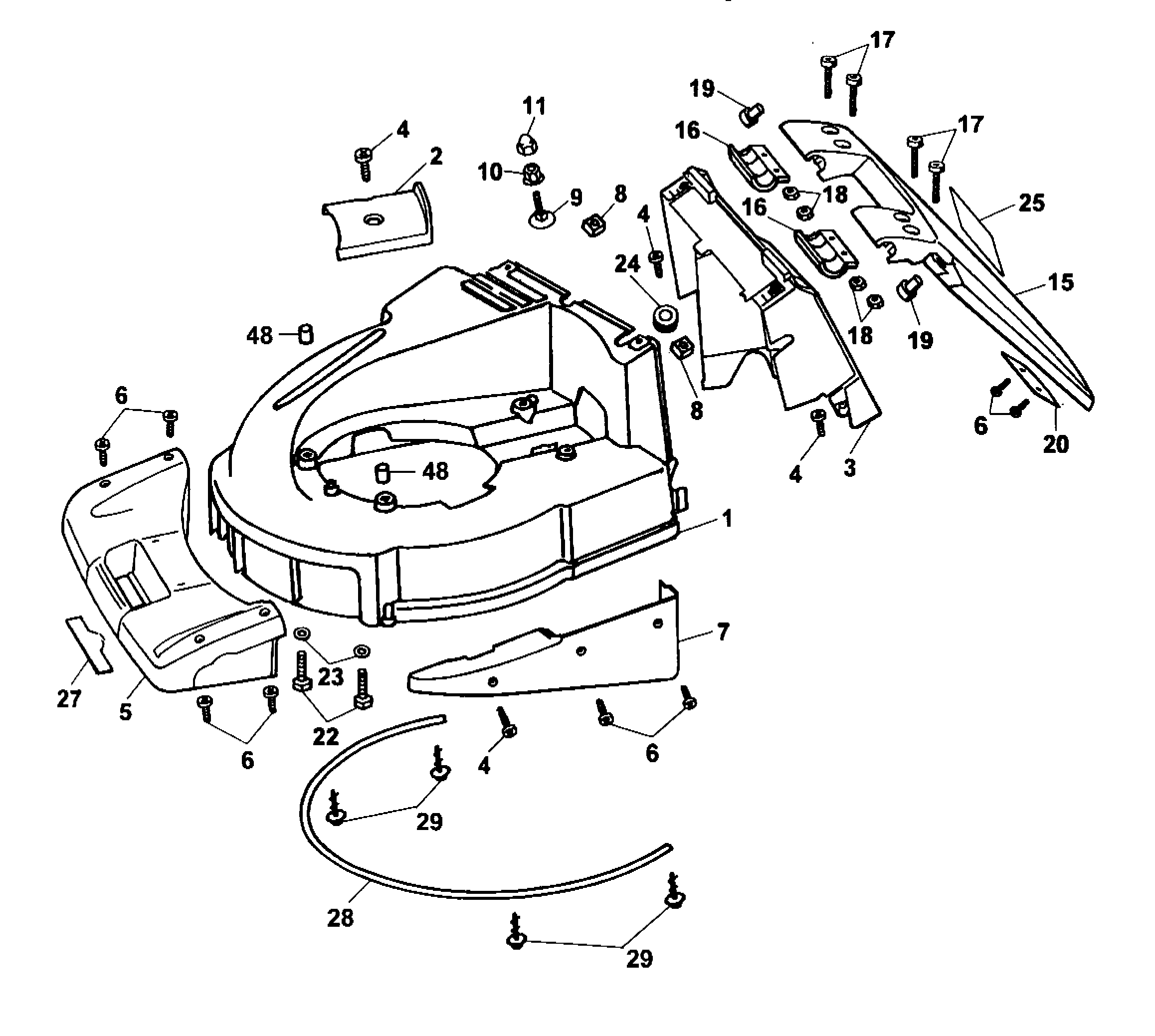
1
Chassis
4350 320
2
V-Belt Cover
6450 307
3
Deflector
6450 340
4
Screw M 5X20
0012 607
5
Front Panel
6450 302
6
Screw 5X12
0012 605
7
Cover, Left
6450 304
8
Square Nut
0016 405
9
Screw
0013 650
10
Nut
0016 385
11
Sleeve M 8
6340 126
15
Rear Flap
6450 911
16
Clamp-Casing
6450 311
17
Screw M5X40
0012 825
18
Hex. Nut M 5
0016 210
19
Rubber Buffer
6450 316
20
Counterweight
6450 149
22
Hex Screw M8X30 Din 933 8.8
0010 399
23
Washer
0017 291
24
Rubber Funnel
6450 314
25
Safety Label
0051 225
27
Wolf-Garten - Label
0051 115
28
Stabilizer
4342 100
29
Screw K60X16
0012 636
48
Locking Collar
4342 102
Lists
Wolf
Handtools
Hedge-shears
Secateurs
Grass-shears
Loppers
Tree Lopper
Tree care
Illumination, Ambiance
Battery-shears
Shredders
Saws
Grass-Trimmers
Reel-mowers
Spreaders / Portax
Irrigation
Scarifiers / Aerators
Mowers
Accu
Petrol
Electro
Without drive up to 38 cm
Without drive from 40 cm on
Drive
series 4
series 6
Concept
Concept 43 EA
Data Sheet
Chassis, add-on pieces
Axle, Wheels, Height-adjustment
Frame
Motor, Blade
Handlebar, Switch
Grass collector Concept
Premio
Power Edition
Esprit
Ride-on Mowers
Petrol engines
Optional extras
Terms and Conditions
(C) by motoruf