back to
>
Mowers
>
Electro
>
Without drive up to 38 cm
>
Picco
>
Picco 32 E
>
Chassis, grass box
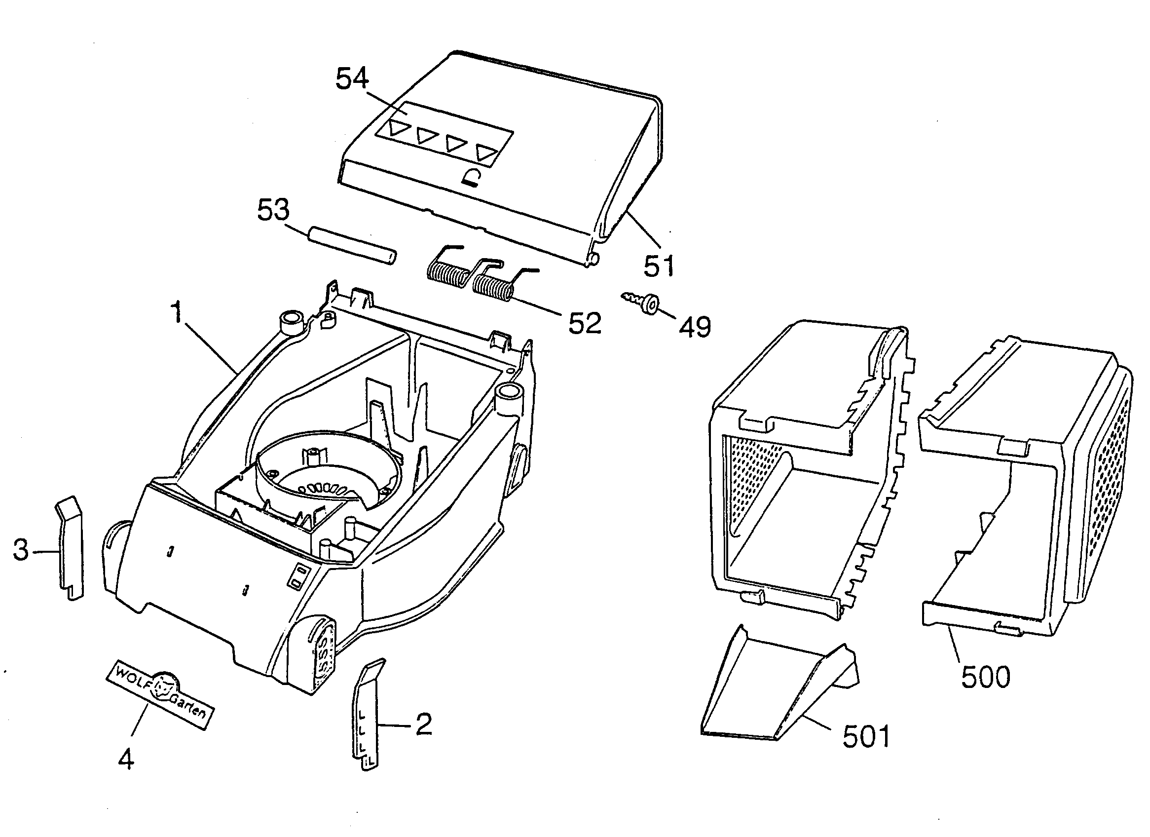
Spare Parts Lists for Wolf Mowers Chassis, grass box
pos.
decription
spare part number
1
Chassis
4901 300
2
Bracket, Left
4901 309
3
Bracket, Right
4901 308
4
Wolf-Garten - Label
0051 115
4
Outils-Wolf Brand
0051 077
49
Screw
0012 622
51
Rear Flap
4901 056
52
Leg Spring
4901 100
53
Pivot Pin
4932 208
54
Safety Label
0051 230
500
Grass Box Half*
4901 303
501
Chute
4901 307
Lists
Wolf
Handtools
Hedge-shears
Secateurs
Grass-shears
Loppers
Tree Lopper
Tree care
Illumination, Ambiance
Battery-shears
Shredders
Saws
Grass-Trimmers
Reel-mowers
Spreaders / Portax
Irrigation
Scarifiers / Aerators
Mowers
Accu
Petrol
Electro
Without drive up to 38 cm
series 2
series 4
series 6
Picco
Picco 32 E
Picco 32 E
Picco 32 E
Picco 32 E
Picco 32 E
Picco 32 ER
Picco 32 E
Data Sheet
Chassis, grass box
Wheels, Axle
Cover, motor, blade
Handlebar, Switch
Picco 32 ER
Picco 32 E
Picco 32 E
Picco 32 ER
Picco 32 E
Picco 32 E
P32E9
Picco 32 E
Premio
Power Edition
Esprit
Compact Plus
Others
Without drive from 40 cm on
Drive
Ride-on Mowers
Petrol engines
Optional extras
Terms and Conditions
(C) by motoruf