back to
>
Mowers
>
Electro
>
Without drive up to 38 cm
>
Picco
>
Picco 32 E
>
Chassis
Spare Parts Lists for Wolf Mowers Chassis
pos.
decription
spare part number
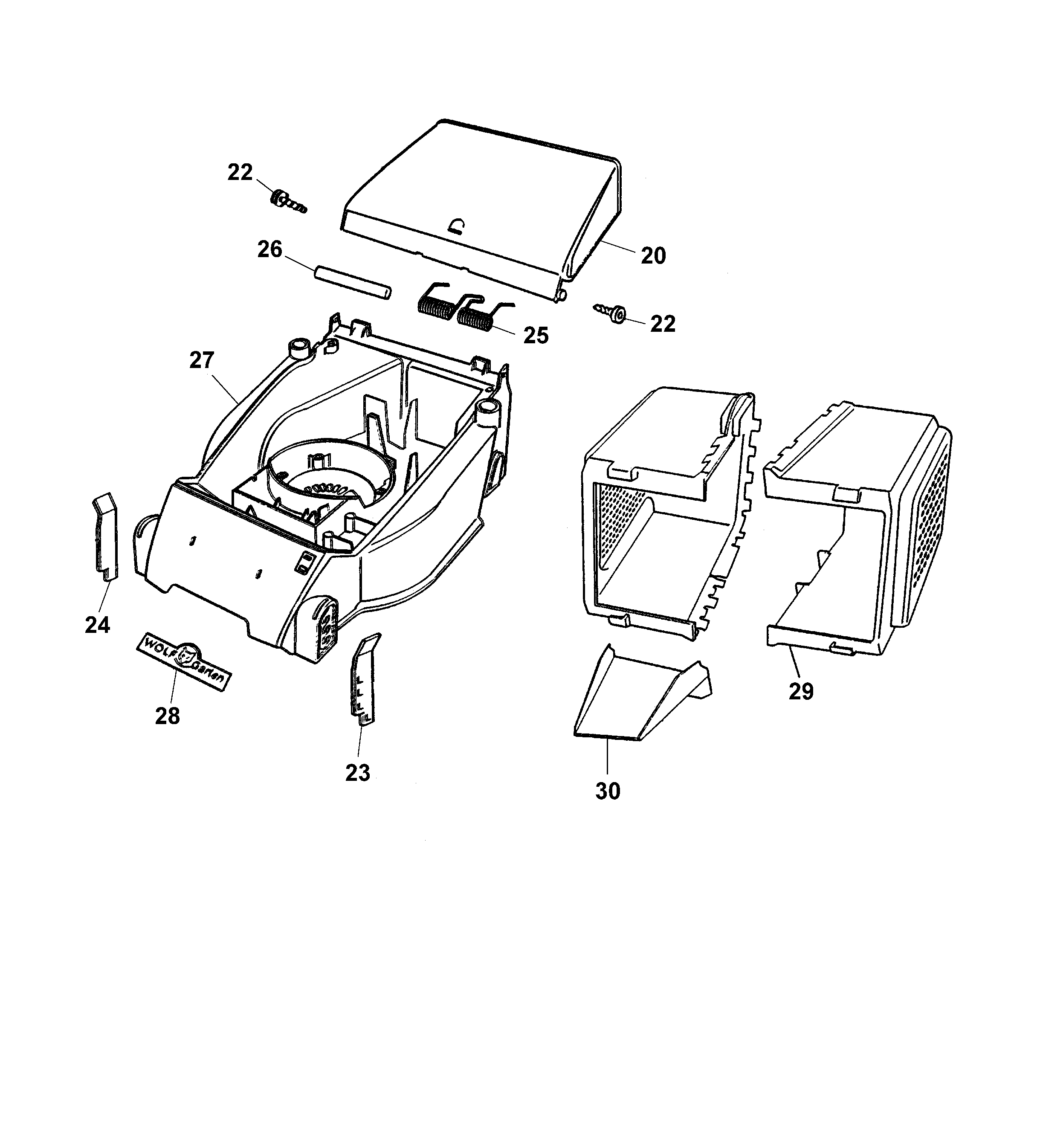
20
Rear Flap, Yellow
4901 302
22
Screw
0012 622
23
Bracket, Left
4901 309
24
Bracket, Right
4901 308
25
Leg Spring
4901 100
26
Pivot Pin
4901 208
27
Chassis
4901 300
28
Wolf-Garten - Label
0051 115
29
Grass Box Half*
4901 303
30
Chute
4901 307
Lists
Wolf
Handtools
Hedge-shears
Secateurs
Grass-shears
Loppers
Tree Lopper
Tree care
Illumination, Ambiance
Battery-shears
Shredders
Saws
Grass-Trimmers
Reel-mowers
Spreaders / Portax
Irrigation
Scarifiers / Aerators
Mowers
Accu
Petrol
Electro
Without drive up to 38 cm
series 2
series 4
series 6
Picco
Picco 32 E
Picco 32 E
Picco 32 E
Picco 32 E
Picco 32 E
Picco 32 ER
Picco 32 E
Picco 32 ER
Picco 32 E
Picco 32 E
Picco 32 ER
Picco 32 E
Picco 32 E
Data sheet
Chassis
Axle, Wheels, Height-adjustment
Handlebar compl.
Motor cover, motor, blade
P32E9
Picco 32 E
Premio
Power Edition
Esprit
Compact Plus
Others
Without drive from 40 cm on
Drive
Ride-on Mowers
Petrol engines
Optional extras
Terms and Conditions
(C) by motoruf