back to
>
Mowers
>
Electro
>
Without drive from 40 cm on
>
Compact Plus
>
Compact plus 40 E
>
Chassis
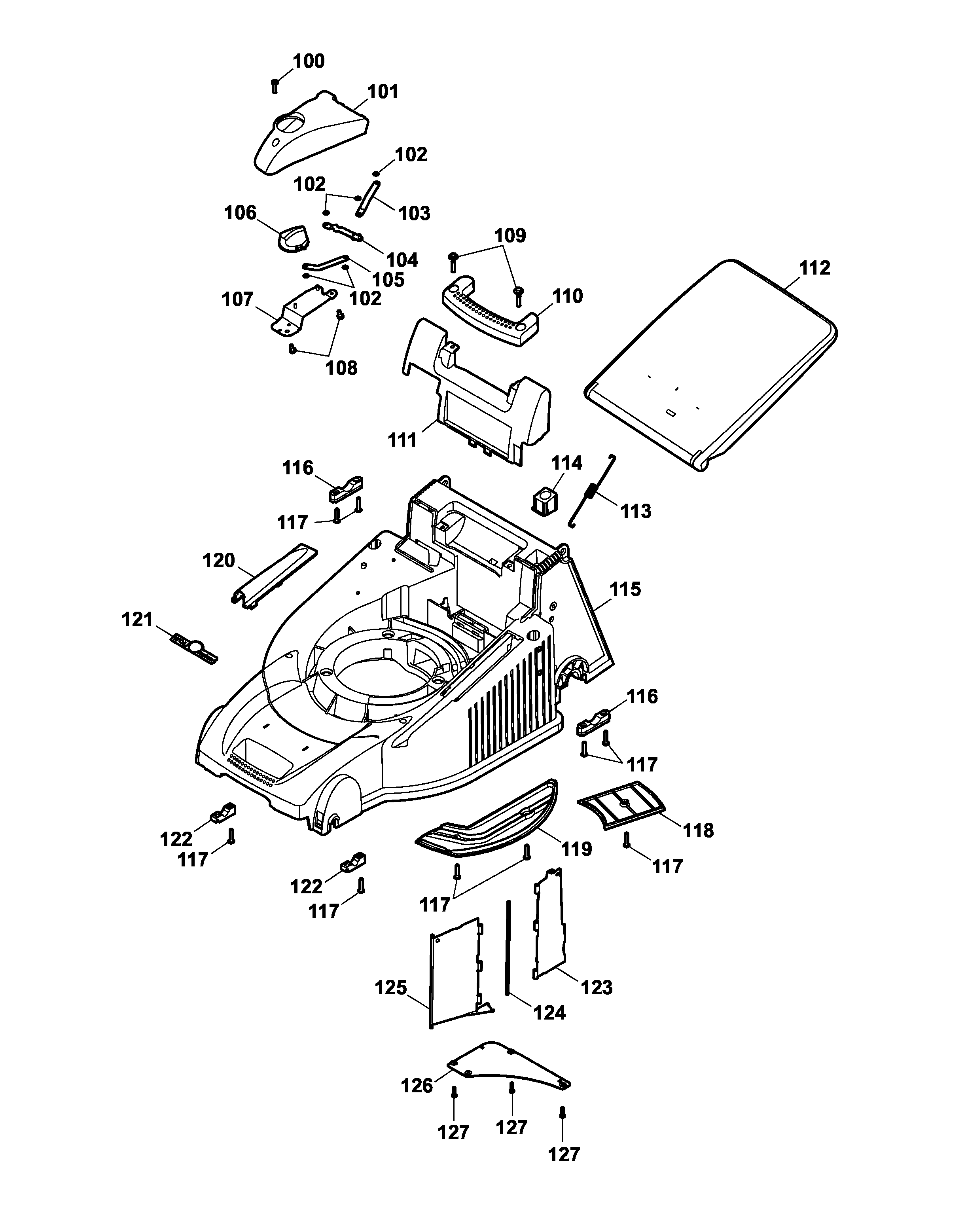
Spare Parts Lists for Wolf Mowers Chassis
pos.
decription
spare part number
100
Screw
0012 613
101
Console cover
4021 306
102
Ring
0020 654
103
Connecting Part 1
4021 136
104
Console bracket
4021 130
105
Connecting Part 2
4021 134
106
Operation Button
4021 305
107
Console
4021 114
108
Screw
0012 606
109
Screw
0012 643
110
Rear Carrying Handle
4601 304
111
Chassis Cover
4021 310
112
Rear Flap
4628 322
113
Tension Spring
4961 108
114
Button
4961 304
115
Chassis
4021 300
116
Shell, Rear
4961 313
117
Screw
0012 631
118
V-Belt Cover
4961 324
119
Wind Tunnel Cover
4001 311
120
Air conduction
4601 315
121
Wolf-Garten - Label
0051 115
122
Front Support Shell
4961 312
123
Flap 2
4021 108
124
Hinge rod
4021 107
125
Flap 1
4021 100
126
Sheet
4021 113
127
Screw
0012 625
Lists
Wolf
Handtools
Hedge-shears
Secateurs
Grass-shears
Loppers
Tree Lopper
Tree care
Illumination, Ambiance
Battery-shears
Shredders
Saws
Grass-Trimmers
Reel-mowers
Spreaders / Portax
Irrigation
Scarifiers / Aerators
Mowers
Accu
Petrol
Electro
Without drive up to 38 cm
Without drive from 40 cm on
series 2
series 4
series 6
Concept
Premio
Power Edition
Esprit
Others
Compact Plus
Compact plus 40 E
Data Sheet
Chassis
Axle, Wheels
Handlebar compl.
Motor, Blade
grass collector
Compact plus Power Edition 40 E
Compact plus Power Edition 40 E
Drive
Ride-on Mowers
Petrol engines
Optional extras
Terms and Conditions
(C) by motoruf