back to
>
Ride-on Mowers
>
Trac
>
OHV 6
>
Trac OHV 6
>
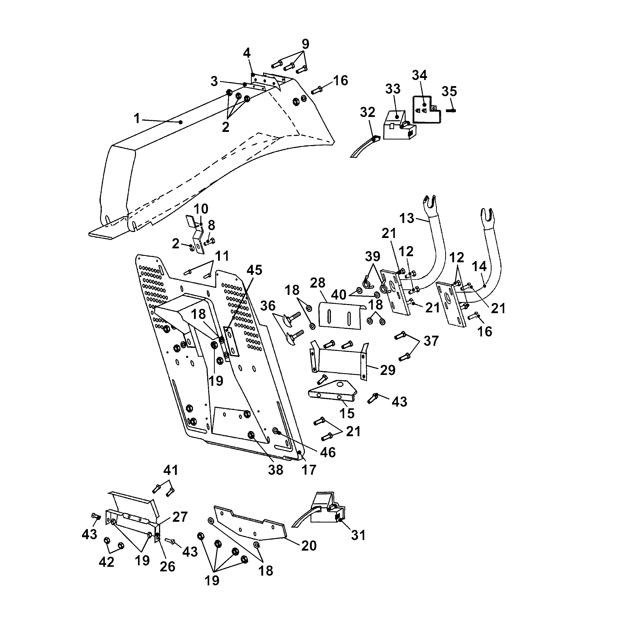
Chute collector assembly
Spare Parts Lists for Wolf Ride-on Mowers Chute collector assembly
pos.
decription
spare part number
1
Tunnel
6200 342
2
Self Locking Nut M 4
0016 309
3
Supporting Sheet Metal
6205 117
4
Rubber Seal
6205 301
8
Ecofix Screw M4 X 12 Bn 4825H 4.8
6205 538
9
Head Slotted Screw M4 X 12 Din 84A 8.8
0012 164
10
Switch Cover
6205 331
11
Carriage Bolt M8 X 16 Bn 11252 10.9
6205 539
12
Screw M8 X 25 Verbus Ripp Bn 2797 Ci.100
6205 129
13
Collector Support, Right
6205 519
14
Collector Support, Left
6205 518
15
Tow Hitch
6205 502
16
Hex Screw M8X20-Din 933 8.8
0010 690
17
Collector Plate Assy
6200 017
18
Washer A 8,4 Din 125
0017 123
19
Hex. Nut
0016 312
20
Tow Hitch Support
6205 500
21
Screw
0010 403
26
Clip
6205 504
27
Guard-Flywheel
6200 502
28
Adjustable Shield
6200 503
29
Rear Plate Chute
6200 506
31
Overload Switch Assy, Complete
6205 057
32
Overload Switch Actuation Lever
6200 510
33
Upper Housing, Over-Load Switch
6200 338
34
Lower Housing, Over-Load Switch
6200 337
35
Pin-Counterweight
6205 511
36
Screw M6X16 Din 603 6.8
6205 582
37
Screw M6X12 Din 933 8.8
0010 383
38
Nut
0016 311
39
Wingnut
6205 321
40
Washer
0017 121
41
Screw
0013 631
42
Hex. Nut
0016 310
43
Hex Screw M8 X 20 Din 933 8.8
0010 402
45
Reinforcing
6205 535
46
Bush
6200 164
Lists
Wolf
Handtools
Hedge-shears
Secateurs
Grass-shears
Loppers
Tree Lopper
Tree care
Illumination, Ambiance
Battery-shears
Shredders
Saws
Grass-Trimmers
Reel-mowers
Spreaders / Portax
Irrigation
Scarifiers / Aerators
Mowers
Ride-on Mowers
Scooter
Cart
Trac
OHV 6
Trac OHV 6
Trac OHV 6
Data Sheet
Engine
Front axle
Steering
Transmission drive
Operation mower /Lift
Operation brake
Operation change gear
Mower housing
Cutting pan drive system
Chute collector assembly
Grass collector assembly
Body assembly-fender / Seat
Body assembly hood
Wiring harness compl.
Electrical switches 1
Electrical switches 2
Decals / Labels
Trac OHV 6
OHV 7
Gear
Petrol engines
Optional extras
Terms and Conditions
(C) by motoruf