back to
>
Ride-on Mowers
>
Scooter
>
OHV
>
Scooter OHV 3
>
Clutch, Cutter bar
Spare Parts Lists for Wolf Ride-on Mowers Clutch, Cutter bar
pos.
decription
spare part number
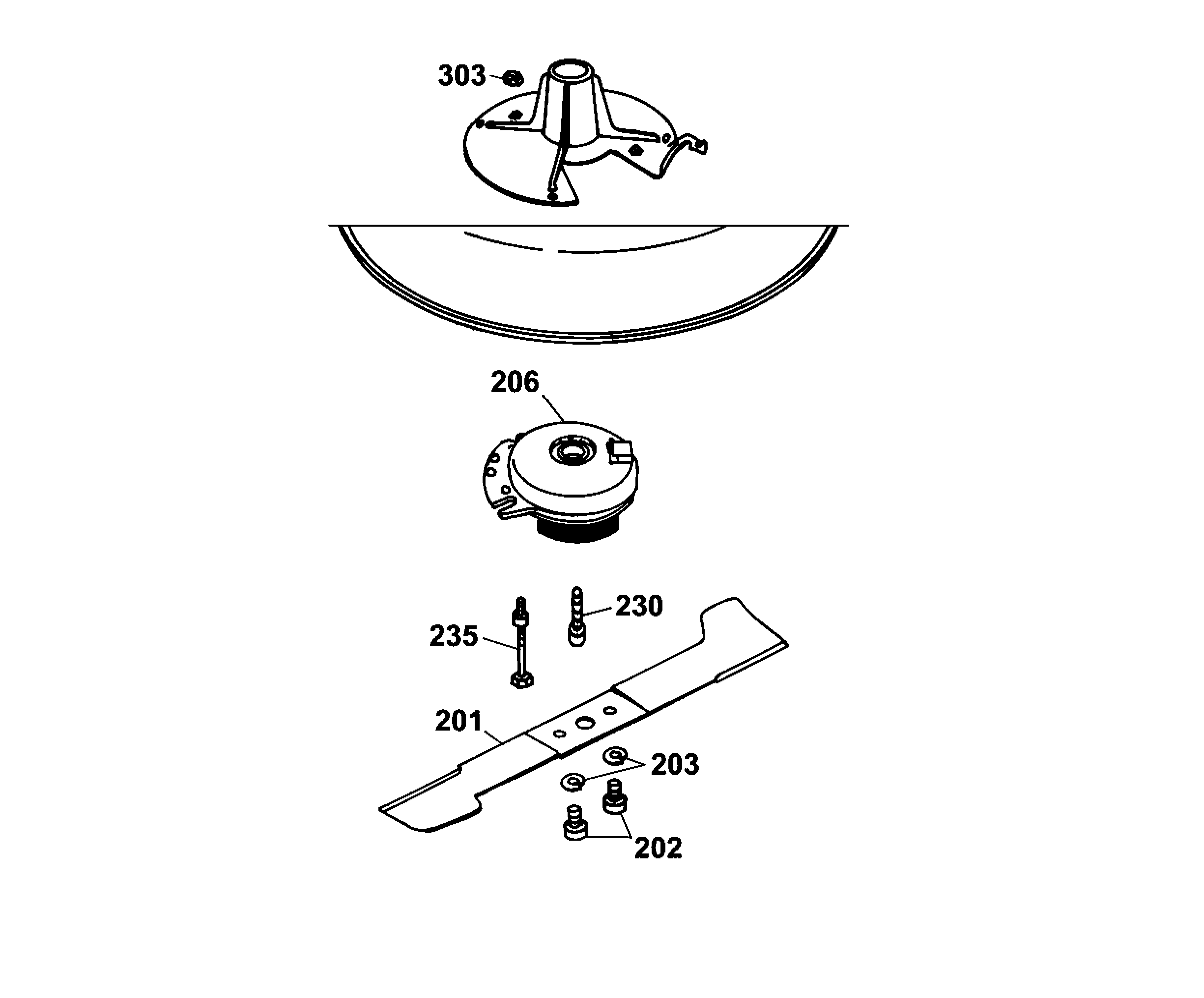
201
Blade
6155 400
202
Screw M10X30 Din 6912
0011 421
203
Washer spring
0017 911
206
Electro-Magnetic Clutch
1096 051
230
Screw 3/8??
6150 174
235
Bolt
6995 120
303
Hex. Nut
0016 312
Lists
Wolf
Handtools
Hedge-shears
Secateurs
Grass-shears
Loppers
Tree Lopper
Tree care
Illumination, Ambiance
Battery-shears
Shredders
Saws
Grass-Trimmers
Reel-mowers
Spreaders / Portax
Irrigation
Scarifiers / Aerators
Mowers
Ride-on Mowers
Scooter
SV
OHV
Scooter OHV 3
Scooter OHV 3
Scooter OHV 3
Scooter OHV 3
Scooter OHV 3
Scooter OHV 3
Scooter OHV 3
Data Sheet
Upper frame, Steering
Lower frame, Height-adjustment
Drive, Running gear
Blade drive, Clutching belt
Clutch, Cutter bar
Mower housing compl.
Front panels, Covers
Rear panels, Seat
Grass collector, Rear flap
Cable form
Intek Edge OHV
Moto Verte
Gear
Cart
Trac
Petrol engines
Optional extras
Terms and Conditions
(C) by motoruf