back to
>
Petrol engines
>
Kawasaki
>
FA / FC
>
FA 76
>
Controls
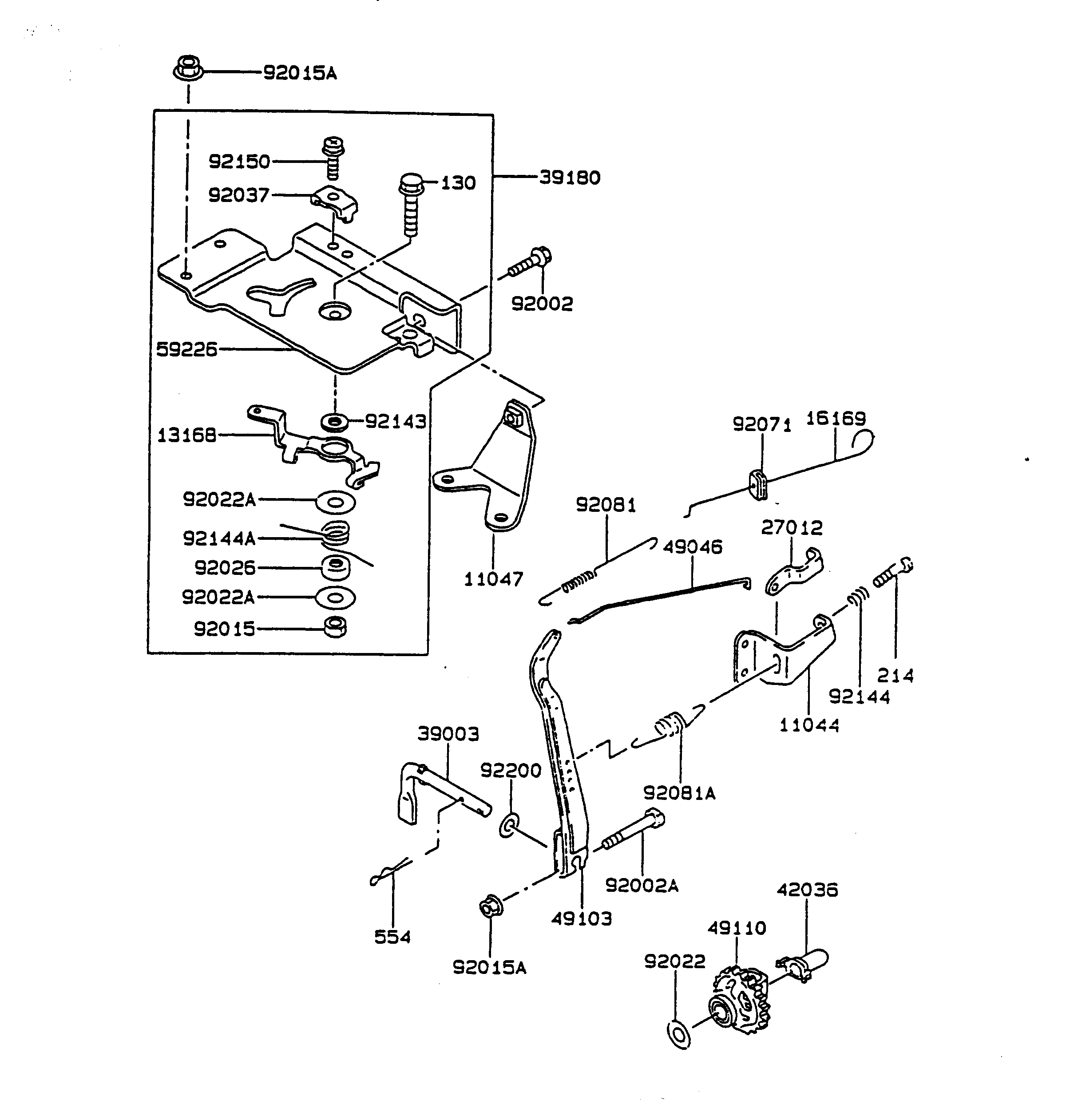
Spare Parts Lists for Wolf Petrol engines Controls
pos.
decription
spare part number
130
Screw
2055332
214
Screw
2055221
554
Dowel Pin
2050308
11044
Arm
2050218
11047
Screw
2055330
13168
Lever
2055341
27012
Adjusting Lever
2050219
39003
Arm-Pivot
2053307
39180
Bracket-Control
2055051
42036
Bush
2090340
49046
Joint
2050433
49103
Govenor Lever
2050304
49110
Governor-Assy
2050327
59226
Bracket-Control
2055335
92002
Screw
2055331
92015
Nut
2055340
92022
Washer
2090341
92026
Spacer Block
2055339
92037
Clamp
2055334
92081
Spring
2050434
92143
Collar
2055336
92144
Spring
2090323
92150
Screw
2055333
92200
Washer
2055504
92002A
Screw
2055505
92015A
Nut
2055503
92022A
Washer
2055337
92081A
Spring - Governor
2055435
92144A
Spring
2055338
Lists
Wolf
Handtools
Hedge-shears
Secateurs
Grass-shears
Loppers
Tree Lopper
Tree care
Illumination, Ambiance
Battery-shears
Shredders
Saws
Grass-Trimmers
Reel-mowers
Spreaders / Portax
Irrigation
Scarifiers / Aerators
Mowers
Ride-on Mowers
Petrol engines
Tecumseh
Briggs & Stratton
Honda
Kawasaki
FA / FC
FA 76
FA 76
FA 76
Cylinder assembly, Piston, Crankshaft
Valves, Camshaft, Dip Stick
Carburetor
Controls
Electrical
Cylinder cover, Flywheel
Air cleaner, Muffler, Fuel tank
Rewind Starter
FC 150 V
FC 150 V
FC 180 V
FA 76
FC 150 V
FJ
Optional extras
Terms and Conditions
(C) by motoruf