back to
>
Petrol engines
>
Kawasaki
>
FA / FC
>
FC 150 V
>
Crankshaft, Piston, Con-rod, Valves
Spare Parts Lists for Wolf Petrol engines Crankshaft, Piston, Con-rod, Valves
spare parts list 1
spare parts list 2
pos.
decription
spare part number
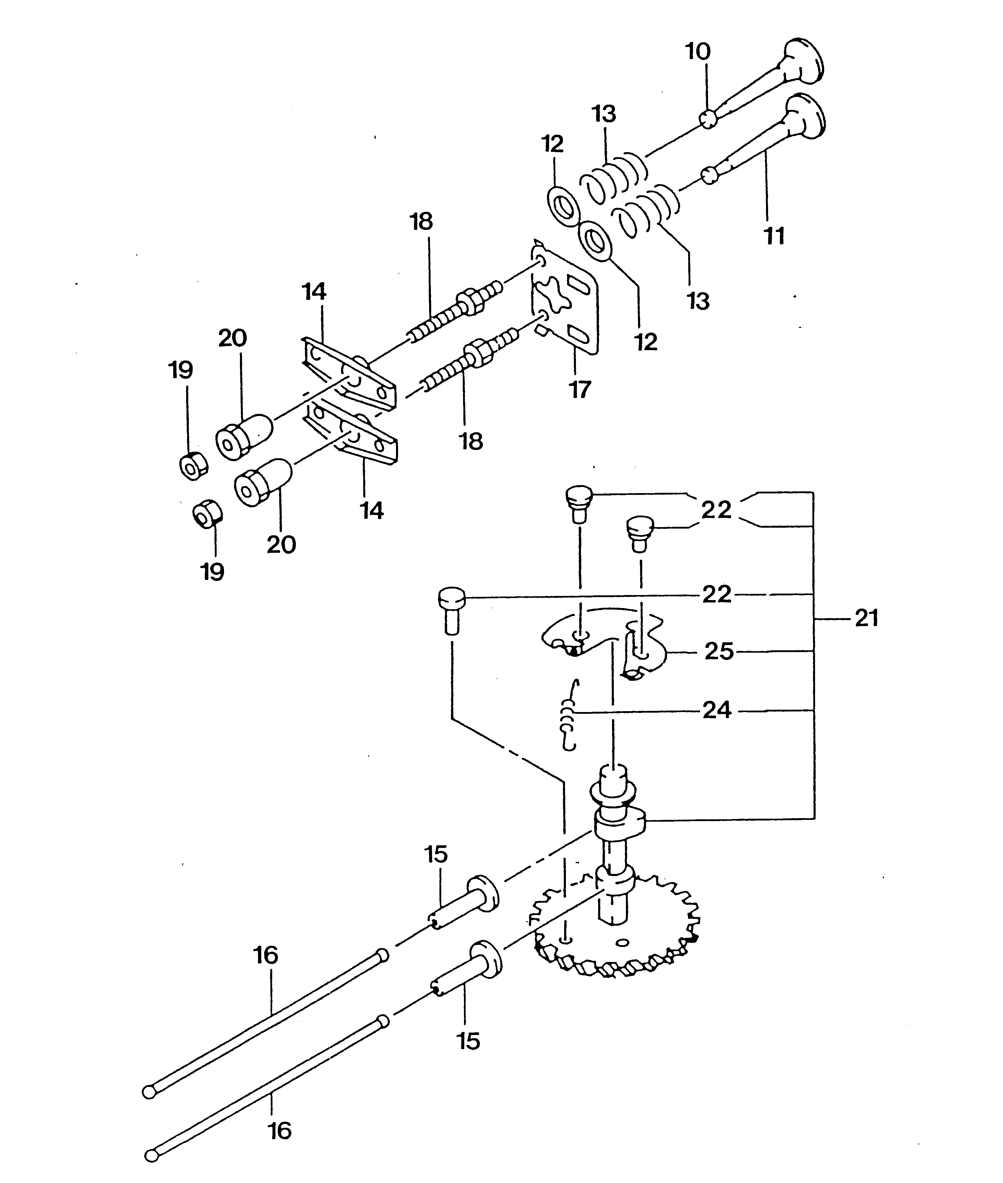
1
Piston
2090 118
2
Bolt
2090 122
3
Retainer-E Ring
2090 123
4
Piston Ring
2096 512
5
Crankshaft
2096 518
6
Rod-Assy-Connecting
2090 051
7
Gear-Timing
2090 128
8
Key-Pulley
2090 129
9
Screw
2090 130
pos.
decription
spare part number
10
Intake Valve
2090 131
11
Exhaust Valve
2090 132
12
Valve
2096 510
13
Valve-Spring
2090 250
14
Lever
2096 511
15
Valve Lifter
2090 136
16
Rod-Push
2090 137
17
Guiding
2090 138
18
Screw
2090 139
19
Nut
2090 140
20
Nut
2090 141
21
Camshaft
2090 063
22
Pin-Counterweight
2090 142
24
Spring
2090 144
25
Thrust Plate
2096 536
Lists
Wolf
Handtools
Hedge-shears
Secateurs
Grass-shears
Loppers
Tree Lopper
Tree care
Illumination, Ambiance
Battery-shears
Shredders
Saws
Grass-Trimmers
Reel-mowers
Spreaders / Portax
Irrigation
Scarifiers / Aerators
Mowers
Ride-on Mowers
Petrol engines
Tecumseh
Briggs & Stratton
Honda
Kawasaki
FA / FC
FA 76
FA 76
FA 76
FC 150 V
FC 150 V
FC 180 V
FA 76
FC 150 V
Cylinder assembly, Sump bases
Crankshaft, Piston, Con-rod, Valves
Carburetor
Flywheel, Electrical, Control
Fuel tank
Covers, Air cleaner, Muffler
Blower housing, Brake
FJ
Optional extras
Terms and Conditions
(C) by motoruf