back to
>
Mowers
>
Petrol
>
Without drive up to 42 cm
>
series 2
>
2.40 BS
>
Sprint 40
>
Crankshaft, Sump bases
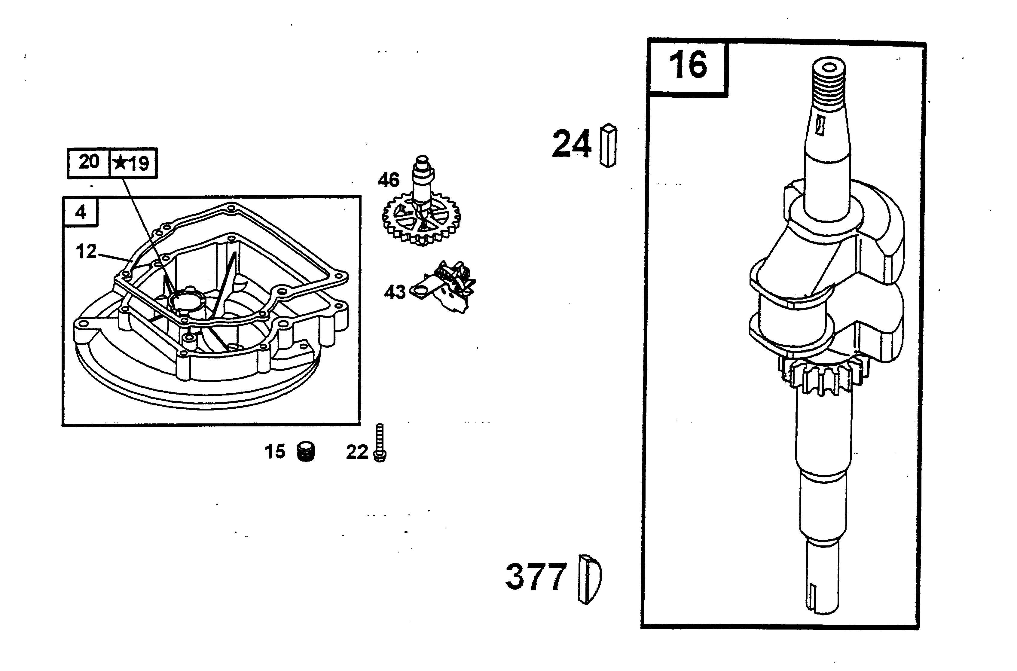
Spare Parts Lists for Wolf Mowers Crankshaft, Sump bases
pos.
decription
spare part number
4
Sump Base
2056 133
12
Seal
1007 201
15
Plug-Oil Drain
2058 204
16
Crankshaft
2056 190
19
Bush
1034 205
20
Seal-Oil
2056 304
22
Screw
2056 134
24
Flywheel Pin
2057 130
43
Regulator
2056 135
46
Camshaft
2056 136
377
Key
0029 055
Lists
Wolf
Handtools
Hedge-shears
Secateurs
Grass-shears
Loppers
Tree Lopper
Tree care
Illumination, Ambiance
Battery-shears
Shredders
Saws
Grass-Trimmers
Reel-mowers
Spreaders / Portax
Irrigation
Scarifiers / Aerators
Mowers
Accu
Petrol
Without drive up to 42 cm
series 2
2.42 T
2.42 TL
2.42 B
2.42 T
2.42 TL
2.42 TLK
2.42 BS
2.42 TV
2.42 TP
2.40 BQ
2.40 BS
Data Sheet
Chassis
Axle, Wheels, Height-adjustment
Handlebar compl.
Motor, Blade
Grass collector Esprit
Sprint 40
Cylinder assembly
Piston, Connecting rod, Valves
Crankshaft, Sump bases
Carburetor (Primer system)
Control
Flywheel, Electrical, Brake
Air cleaner, Muffler
Covers, Blower housing
Gasket set
2.40 H
2.40 BC
2.38 TV
2.40 BS
2.40 H
2.40 BC
2.42 B, Good-Line
2.40 B
2.40 BT
series 4
series 6
Premio
Power Edition
Esprit
Moto-Verte
Others
Compact Plus
Without drive from 43 cm on
Drive up to 42 cm
Drive from 43 cm on
Electric start / Touch 'n Mow
Electro
Ride-on Mowers
Petrol engines
Optional extras
Terms and Conditions
(C) by motoruf