back to
>
Ride-on Mowers
>
Trac
>
OHV 6
>
Trac OHV 6
>
Diamond I/C OHV
>
Cylinder assembly
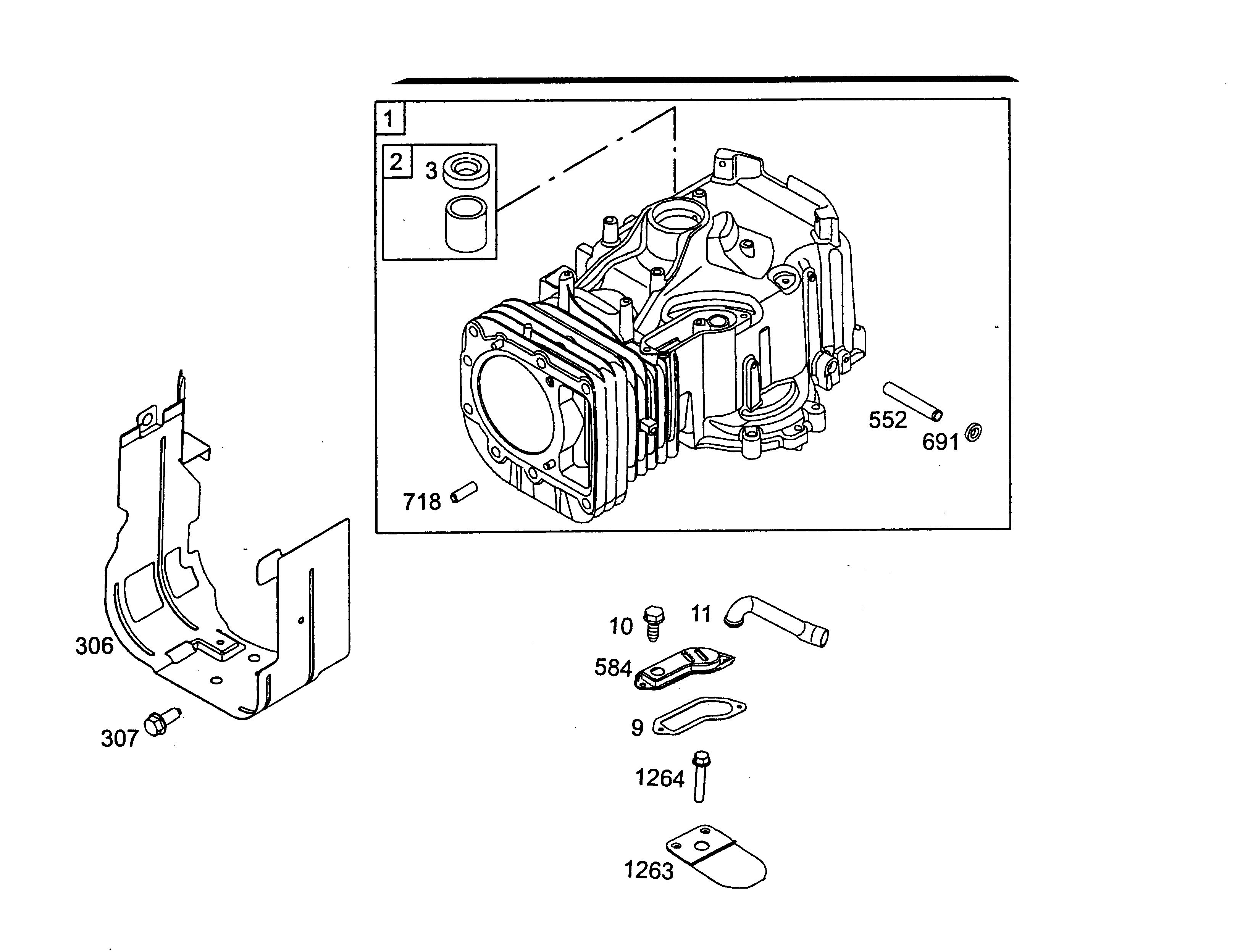
Spare Parts Lists for Wolf Ride-on Mowers Cylinder assembly
pos.
decription
spare part number
1
Cylinder
1001 449
2
Bush
1001 014
3
Seal-Oil
1002 307
9
Seal Ventilation Aperture
1001 351
10
Screw
1001 454
11
Breather Tube
1001 445
306
Deflector-Muffler
1001 443
307
Screw
1001 197
552
Bush
1001 453
584
cover-breather
1001 444
691
Seal-Governor Shaft
1001 426
718
Pin-Counterweight
2063 320
1263
Breather
1001 446
1264
Screw
1001 441
Lists
Wolf
Handtools
Hedge-shears
Secateurs
Grass-shears
Loppers
Tree Lopper
Tree care
Illumination, Ambiance
Battery-shears
Shredders
Saws
Grass-Trimmers
Reel-mowers
Spreaders / Portax
Irrigation
Scarifiers / Aerators
Mowers
Ride-on Mowers
Scooter
Cart
Trac
OHV 6
Trac OHV 6
Trac OHV 6
Trac OHV 6
Data Sheet
Engine assembly
Front axle
Steering
Transmission drive
Operation mower elements, Height-adjustment
Operation brake
Travel pedals
Mower deck assy. compl.
Cutting pan drive system
Chute - collector assembly
Grass collector assembly
Body assembly - Fender seat
Body assembly - Hood
Electrical wiring harness compl.
Electrical - switches 1
Electrical - switches 2
Decals - Labels
Diamond I/C OHV
Cylinder assembly
Head group, Valves
Sump bases, Cams
Crankshaft, Connecting rod, Piston
Carburetor
Electrical, Controls
Housing-blower, Flywheel
Electr. starter, Muffler
Kit - set
OHV 7
Gear
Petrol engines
Optional extras
Terms and Conditions
(C) by motoruf