back to
>
Petrol engines
>
Briggs & Stratton
>
Quattro
>
Quattro 40 S
>
Cylinder assembly
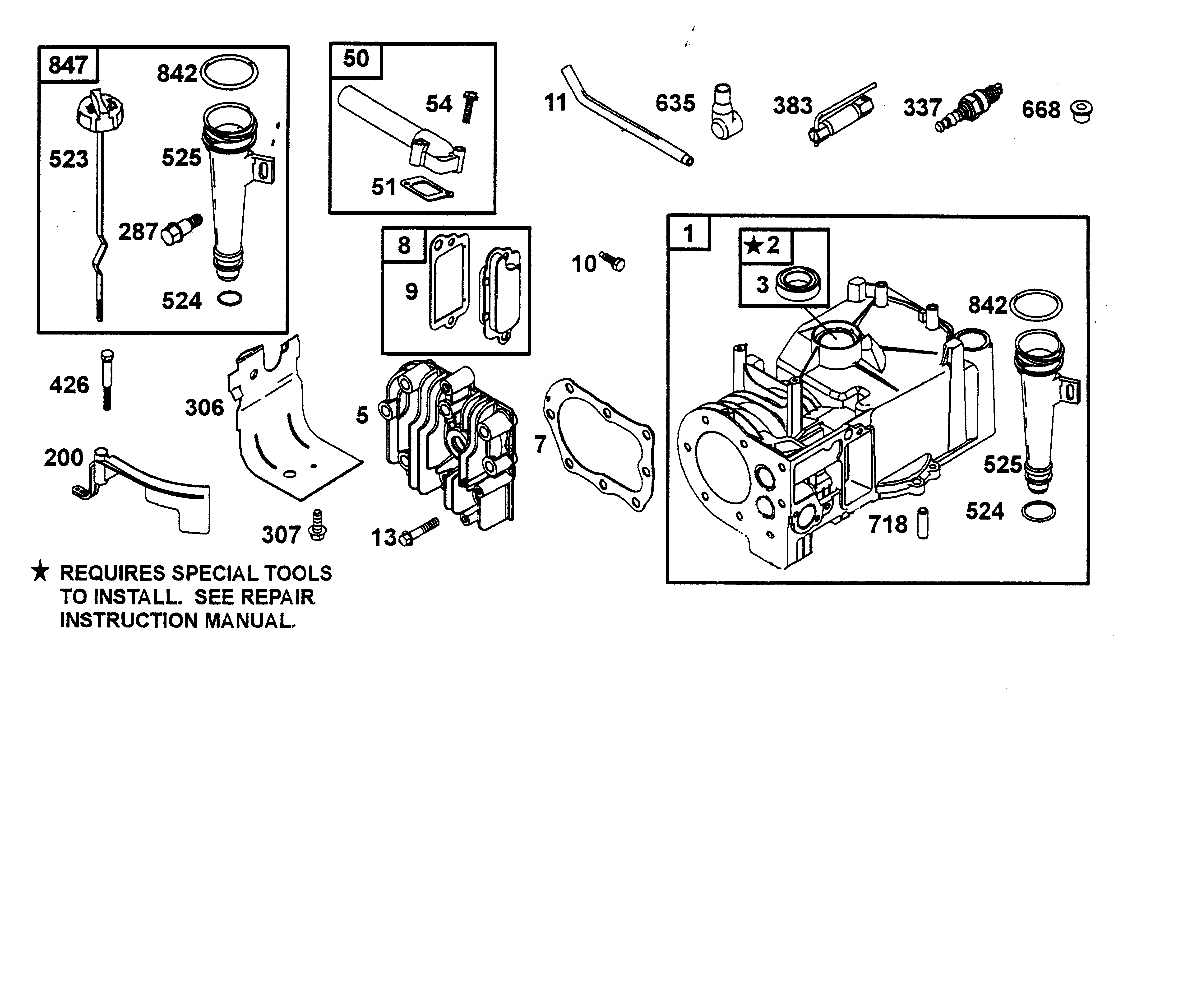
Spare Parts Lists for Wolf Petrol engines Cylinder assembly
pos.
decription
spare part number
1
Cylinder
2007 100
2
Bush
2059 102
3
Oil Seal
2057 352
5
Head-Cylinder
2056 164
7
Gasket-Cylinder Head
2056 159
8
Breather
2056 166
9
Seal Breather
1034 301
10
Screw
1034 302
11
Tube-Breather
2056 167
13
Screw
2062 501
50
Pipe
1034 227
51
Seal
1034 222
54
Screw
2056 168
200
Blade-Governor
2056 169
287
Screw
2006 304
306
Deflector-Muffler
2056 170
307
Screw
2063 120
337
Plug-Spark
2085 300
383
Wrench-Spak-Plug
2056 171
426
Screw
2056 172
523
Dipstick
2056 173
524
Seal-O Ring
2007 205
525
Tube-Dipstick
2003 203
635
Spark Plug Socket
1034 435
668
Shell
2056 174
718
Pin
2057 117
842
Seal-Dipstick Tube
2056 160
847
Replenishing Tube
2056 176
Lists
Wolf
Handtools
Hedge-shears
Secateurs
Grass-shears
Loppers
Tree Lopper
Tree care
Illumination, Ambiance
Battery-shears
Shredders
Saws
Grass-Trimmers
Reel-mowers
Spreaders / Portax
Irrigation
Scarifiers / Aerators
Mowers
Ride-on Mowers
Petrol engines
Tecumseh
Briggs & Stratton
Quattro
Quattro 40
Motor B&S Quattro 40 KAT
Quattro 40 S
Cylinder assembly
Piston, Connecting rod, Valves
Crankshaft, Sump bases
Carburetor
Controls electrical
Flywheel, Electrical, Brake
Fuel tank
Air cleaner, Muffler
Blower housing
Gasket set
Quattro 40
Quattro 40
Quattro 40
Quantum
Diamond
Intek
Sprint
Classic
Honda
Kawasaki
Optional extras
Terms and Conditions
(C) by motoruf