back to
>
Petrol engines
>
Briggs & Stratton
>
Quantum
>
Q 48 Fixspeed
>
Electrical, Rewind - starter
Spare Parts Lists for Wolf Petrol engines Electrical, Rewind - starter
pos.
decription
spare part number
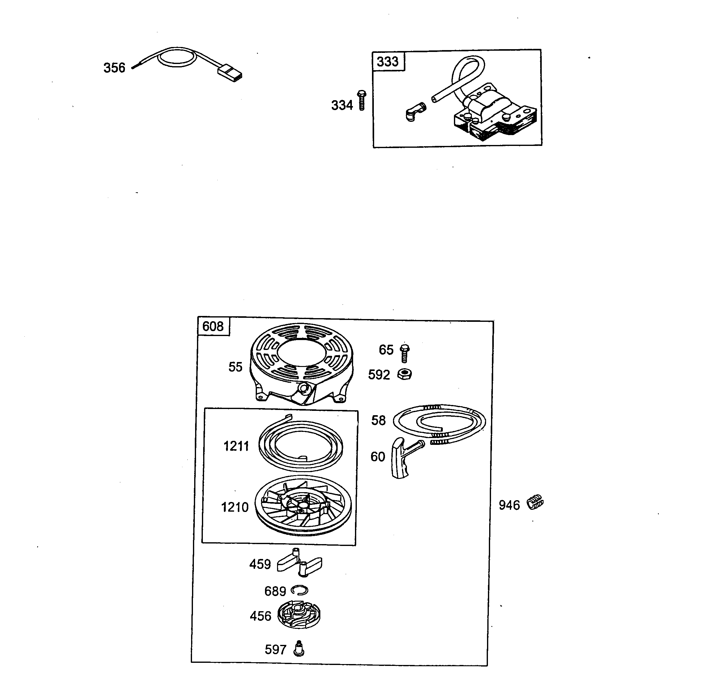
333
Armature-Magneto
2063 056
334
Screw
2003 103
356
Wire-Stop
2059 317
55
Housing-Rewind Starter
2069 412
58
Rope - Starter
2063 604
60
Grip - Starter Rope
2069 300
65
Screw
1001 158
456
Catch Disk
2056 313
459
Arm
2069 302
592
Nut
1001 156
597
Screw
1034 438
608
Starter-Rewind
2069 012
689
Lock-Piston Pin
2056 185
946
Stop-Rope
2069 416
1210/11
Pulley-Starter
2057 184
Lists
Wolf
Handtools
Hedge-shears
Secateurs
Grass-shears
Loppers
Tree Lopper
Tree care
Illumination, Ambiance
Battery-shears
Shredders
Saws
Grass-Trimmers
Reel-mowers
Spreaders / Portax
Irrigation
Scarifiers / Aerators
Mowers
Ride-on Mowers
Petrol engines
Tecumseh
Briggs & Stratton
Quattro
Quantum
XE, XTE, XTL 35/40/45/50-I/C-ES
XE, XTE 35/40-50/55
50 XTE
XTE 50 ES
XM 45
XM 45
XE 55 I/C
XTE 50 ES
50 XTE
45 XM
55 XM
55 XM
55 XTE
55 X-ES
55 XES
50 XTE
55 XTE
45 XM
55 XM
XTE 50
Q 48 Fixspeed
Cylinder assembly
Piston, Crankshaft, Valves, Sump bases
Carburetor (primer system)
Regelung, Polrad, Bremse
Covering cap, Fuel tank, Blower housing
Air cleaner, Muffler
Electrical, Rewind - starter
Gasket set
Diamond
Intek
Sprint
Classic
Honda
Kawasaki
Optional extras
Terms and Conditions
(C) by motoruf