back to
>
Petrol engines
>
Briggs & Stratton
>
Classic
>
Classic 35
>
Flywheel, Electrical, Brake
Spare Parts Lists for Wolf Petrol engines Flywheel, Electrical, Brake
pos.
decription
spare part number
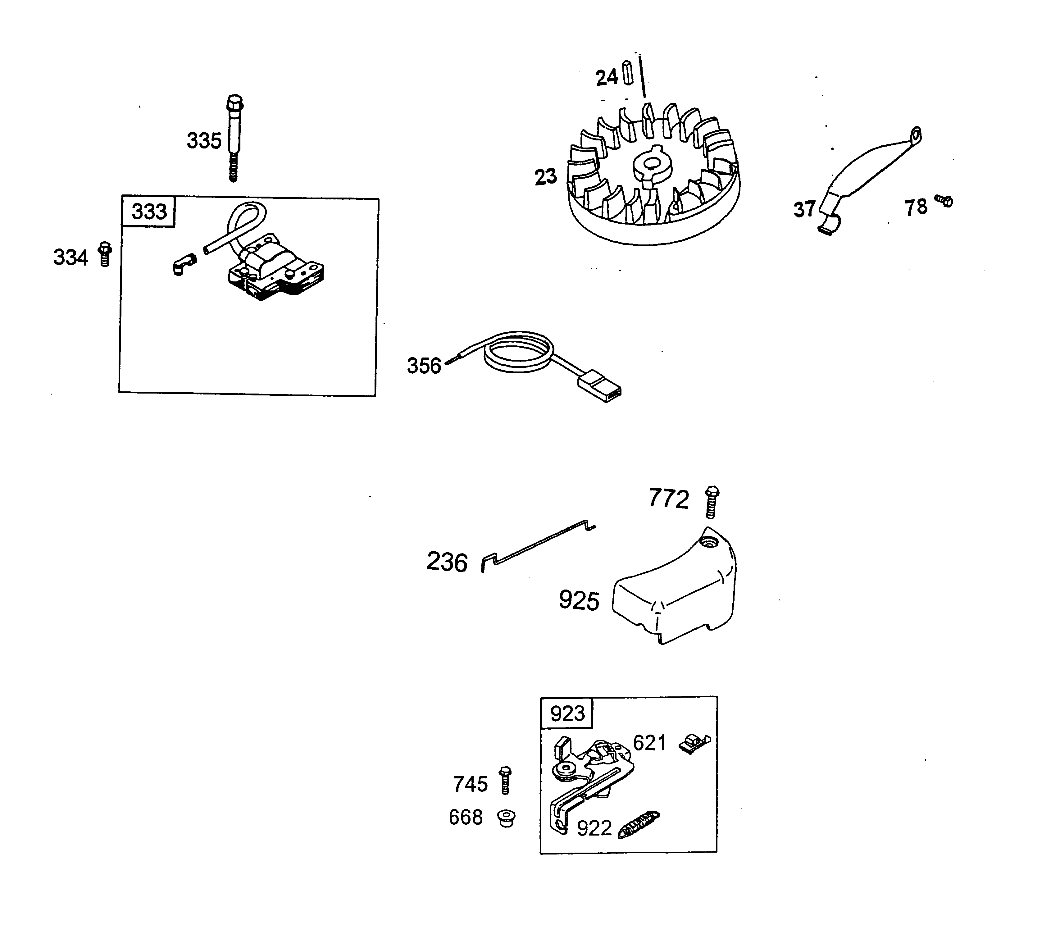
23
Flywheel
2056 184
24
Flywheel Pin
2057 130
37
Guard-Flywheel
2056 178
78
Screw
2063 314
236
Rod
2059 312
333
Armature-Magneto
2003 051
334
Screw
2003 103
335
Screw
2003 104
356
Harness-Alternator
2057 183
621
Switch-Stop
2063 131
668
Shell
2063 221
745
Screw
2056 140
772
Screw
2056 116
922
Spring
2056 141
923
Brake
2056 142
925
Cover
2056 115
Lists
Wolf
Handtools
Hedge-shears
Secateurs
Grass-shears
Loppers
Tree Lopper
Tree care
Illumination, Ambiance
Battery-shears
Shredders
Saws
Grass-Trimmers
Reel-mowers
Spreaders / Portax
Irrigation
Scarifiers / Aerators
Mowers
Ride-on Mowers
Petrol engines
Tecumseh
Briggs & Stratton
Quattro
Quantum
Diamond
Intek
Sprint
Classic
Classic 35
Classic 35
Cylinder assembly
Piston, Connecting rod, Valves
Crankshaft, Sump bases
Carburetor, Fuel tank
Controls
Flywheel, Electrical, Brake
Air cleaner, Muffler
Covers, Blower housing
Gasket set
Honda
Kawasaki
Optional extras
Terms and Conditions
(C) by motoruf