back to
>
Mowers
>
Petrol
>
Without drive from 43 cm on
>
Concept
>
Concept 43 K "KIR"
>
FC 150 V
>
Flywheel, Electrical, Control
Spare Parts Lists for Wolf Mowers Flywheel, Electrical, Control
spare parts list 1
spare parts list 2
pos.
decription
spare part number
1
Flywheel
2096 538
2
Flywheel Pin
2090 301
3
Washer
2096 159
4
Nut
2090 303
5
Armature-Magneto
2096 537
6
Spark Plug Socket
2090 305
7
Plug-Spark
2095 306
8
Screw
2090 224
9
Clip
2095 307
10
Screw
2096 506
11
Boot-Spark Plug
2090 237
12
Plate-Carburetor
2096 524
13
Insulator
2090 241
14
Washer
2090 313
15
Nut
2090 314
16
Wire-Stop
2096 540
17
Wire-Stop
2090 246
46
Insulator
2090 243
47
Boot-Spark Plug
2090 238
48
Washer
2096 160
49
Nut
2090 247
pos.
decription
spare part number
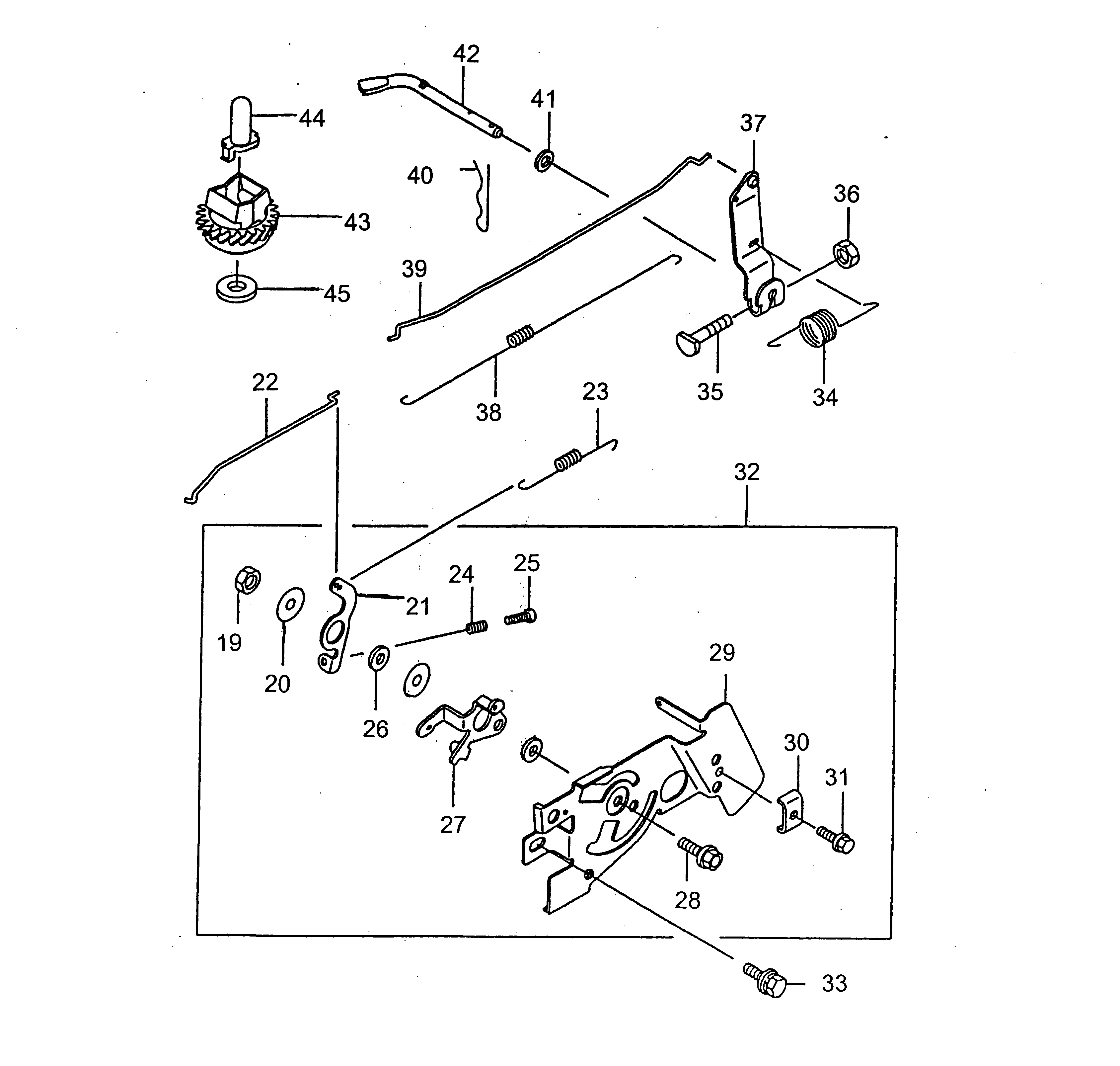
19
Nut
2096 561
20
Clamp
2090 329
21
Lever
2090 319
22
Joint
2090 320
23
Spring
2090 249
24
Spring
2090 254
25
Screw
2090 324
26
Collar
2090 325
27
Lever
2090 326
28
Screw
2090 327
29
Control Plate
2096 556
30
Clamp
2090 329
31
Screw
2090 330
32
Panel-Assy-Control
2090 053
33
Screw
2090 331
34
Spring
2095 323
35
Screw
2090 333
36
Nut
2090 334
37
Lever
2090 054
38
Spring
2090 335
39
Joint
2090 336
40
Dowel Pin
2090 337
41
Washer
2095 338
42
Lever
2095 339
43
Regulator
2096 549
44
Bush
2090340
45
Washer
2090341
Lists
Wolf
Handtools
Hedge-shears
Secateurs
Grass-shears
Loppers
Tree Lopper
Tree care
Illumination, Ambiance
Battery-shears
Shredders
Saws
Grass-Trimmers
Reel-mowers
Spreaders / Portax
Irrigation
Scarifiers / Aerators
Mowers
Accu
Petrol
Without drive up to 42 cm
Without drive from 43 cm on
series 2
series 4
series 6
Concept
Concept 43 B
Concept 43 B
Concept 43 B
Concept 47 B
Concept 43 B
Concept 43 B PP
Concept 43 B
Concept 43 K "KIR"
Data Sheet
Chassis
Axle, Wheels, Height-adjustment
Motor, Frame, Blade
Handlebar compl.
Grass collector Concept
FC 150 V
Cylinder assembly, Sump bases
Crankshaft, Piston, Con-rod, Valves
Carburetor
Flywheel, Electrical, Control
Fuel tank
Covers, Air cleaner, Muffler
Blower housing, Brake
Premio
Esprit
Others
Drive up to 42 cm
Drive from 43 cm on
Electric start / Touch 'n Mow
Electro
Ride-on Mowers
Petrol engines
Optional extras
Terms and Conditions
(C) by motoruf