back to
>
Mowers
>
Petrol
>
Drive up to 42 cm
>
series 6
>
6.42 HA
>
Height-adjustment
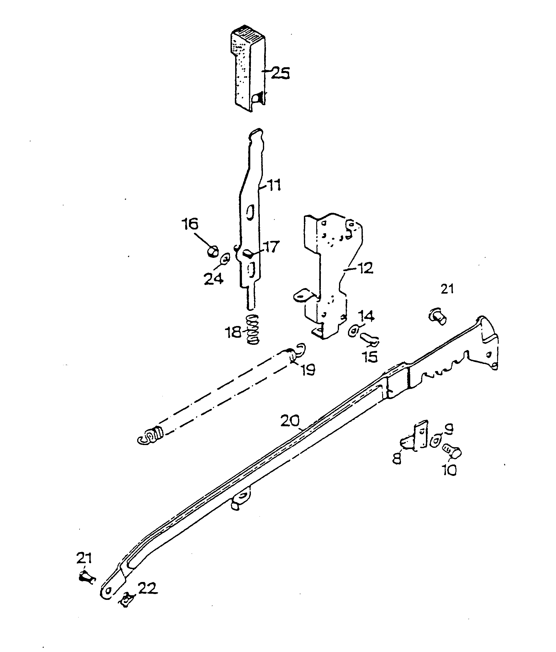
Spare Parts Lists for Wolf Mowers Height-adjustment
spare parts list 1
spare parts list 2
pos.
decription
spare part number
8
Carburettor Gasket/Air Baffle
4720 012
9
Washer
0017 111
10
Hex Screw M8X25-Din 933 8.8
0010 125
11
Lever With Ref. No. 17
4740 013
12
Guiding
6340 020
pos.
decription
spare part number
14
Flat Washer 5.3 Din 9021 B
0017 287
15
Screw
0012 864
16
Nut
0016 311
17
Dowel Pin
0018 864
18
Spring
4740 207
19
Spring
4740 206
20
Rod
4942 020
21
Bolt
6340 214
22
Retaining Clip
0020 981
24
Washer
0017 290
25
Button
4740 100
30
Bolt
0018 458
Lists
Wolf
Handtools
Hedge-shears
Secateurs
Grass-shears
Loppers
Tree Lopper
Tree care
Illumination, Ambiance
Battery-shears
Shredders
Saws
Grass-Trimmers
Reel-mowers
Spreaders / Portax
Irrigation
Scarifiers / Aerators
Mowers
Accu
Petrol
Without drive up to 42 cm
Without drive from 43 cm on
Drive up to 42 cm
series 2
series 6
6.42 BA
6.42 KA
6.42 BAK
6.42 BAi
6.42 HA
Data Sheet
Chassis, Rear flap
Axle, Wheels
Height-adjustment
Handlebar compl.
Motor, Blade
6.42 BAK
6.42 BAK
Premio
Power Edition
Esprit
Others
Compact Plus
Drive from 43 cm on
Electric start / Touch 'n Mow
Electro
Ride-on Mowers
Petrol engines
Optional extras
Terms and Conditions
(C) by motoruf