back to
>
Mowers
>
Petrol
>
Without drive from 43 cm on
>
Others
>
B 46 TB
>
Motor, Blade
Spare Parts Lists for Wolf Mowers Motor, Blade
pos.
decription
spare part number
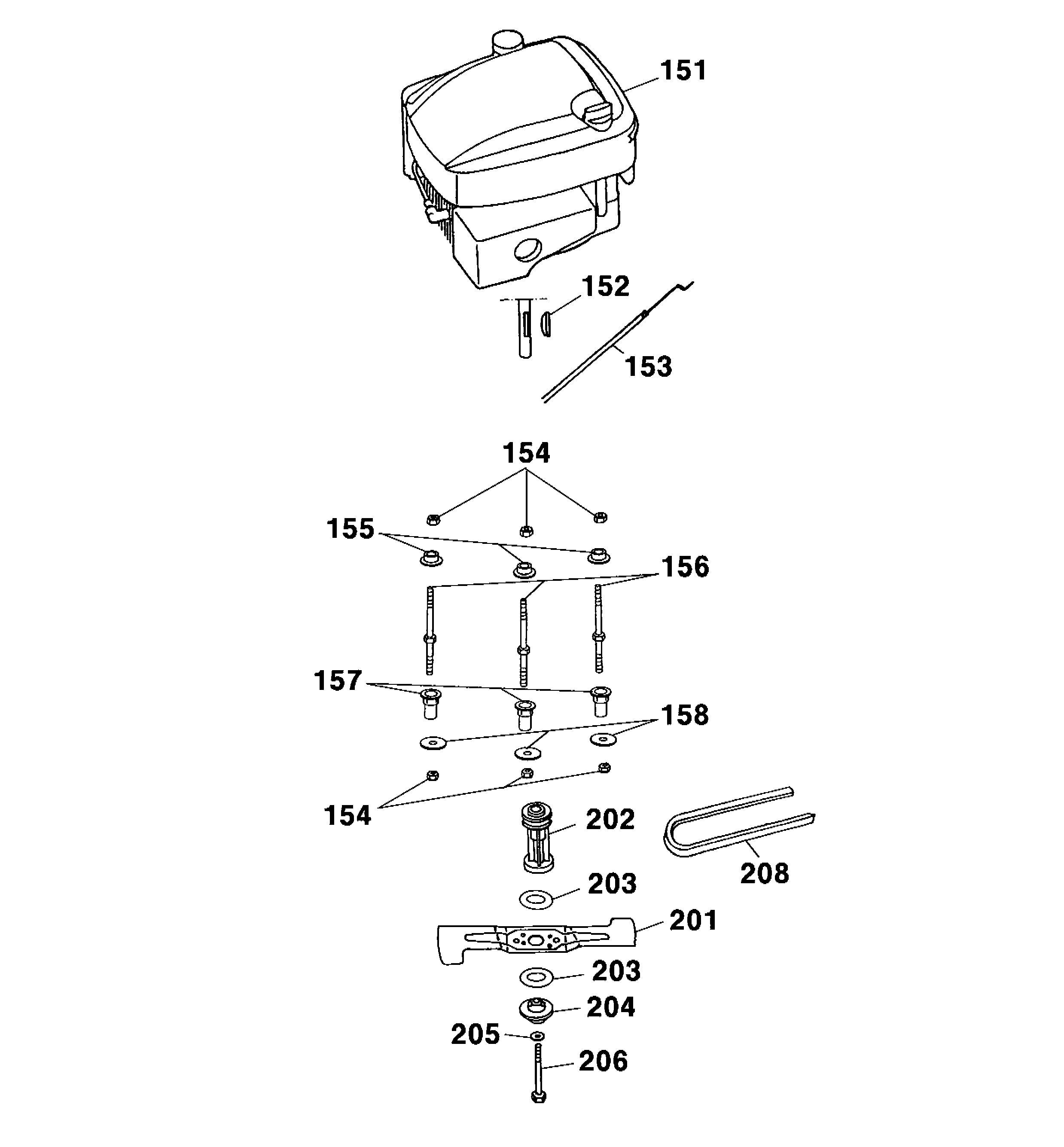
151
Motor
2038 005
152
Key
0029 055
153
Bowden Wire Brake
4003 054
154
Hex. Nut
0016 312
155
Motor Bush
4001 172
156
Stud Bolt, Short
4001 170
157
Spacer
4601 312
158
Washer
0017 111
201
Blade
4601 095
202
Coupling
4601 402
203
coupling
6450 403
204
Coupling Disk
4840 402
205
Friction Washer
0017 105
206
Screw
0010 264
Lists
Wolf
Handtools
Hedge-shears
Secateurs
Grass-shears
Loppers
Tree Lopper
Tree care
Illumination, Ambiance
Battery-shears
Shredders
Saws
Grass-Trimmers
Reel-mowers
Spreaders / Portax
Irrigation
Scarifiers / Aerators
Mowers
Accu
Petrol
Without drive up to 42 cm
Without drive from 43 cm on
series 2
series 4
series 6
Concept
Premio
Esprit
Others
B 46 TB
Data Sheet
Chassis, Add-on pieces
Axle, Wheels, Height-adjustment
Handlebar compl.
Motor, Blade
Grass collector Esprit
Centura 50 DX
B 46 TB
B 46 TB
B 46 TB
B 46 TB
B 46 TB
Drive up to 42 cm
Drive from 43 cm on
Electric start / Touch 'n Mow
Electro
Ride-on Mowers
Petrol engines
Optional extras
Terms and Conditions
(C) by motoruf