back to
>
Mowers
>
Electro
>
Without drive from 40 cm on
>
Compact Plus
>
Compact plus Power Edition 40 E
>
Motor, Blade
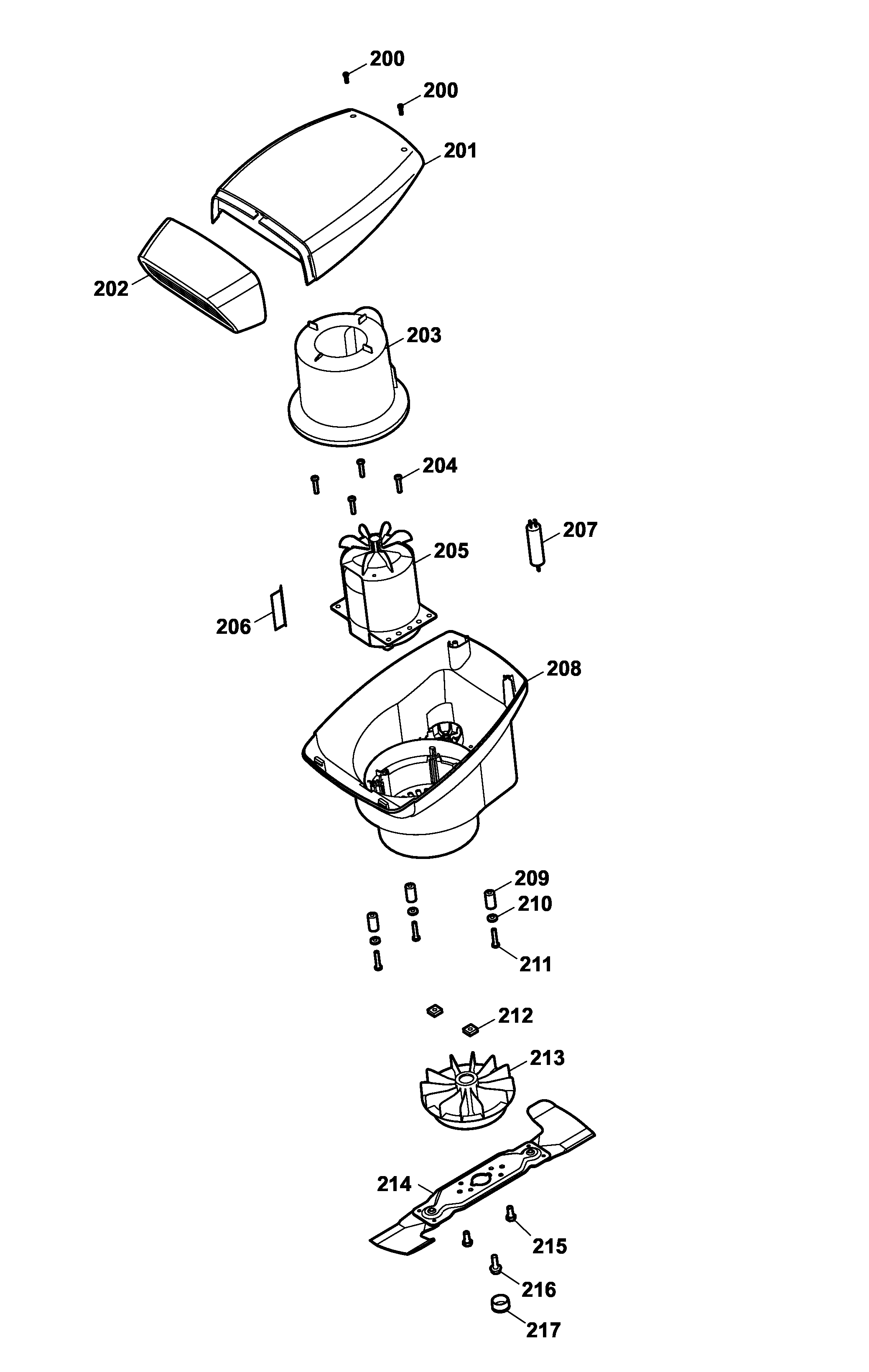
Spare Parts Lists for Wolf Mowers Motor, Blade
pos.
decription
spare part number
200
Screw
0012 625
201
Upper Part
4317 301
202
Front Part
4317 302
203
Air Conduction
4961 326
204
Screw
0012 642
205
Motor
1142 081
206
Foil
1142 300
207
Condenser
1133 030
208
Lower Part
4620 300
209
Spacer
4620 312
210
Washer
0017 110
211
Screw
0012 644
212
Nut
0016 409
213
Aerator
4317 026
214
Cutter Bar
4001 405
214
Cutter Bar Compl.
4001 094
***
Replacement blades VI-W (1 pair)
4350 040
215
Screw
0010 385
216
Hex. Screw M 8X12
0010 384
216
Screw
0010 403
217
Insert-Grip
4317 308
Lists
Wolf
Handtools
Hedge-shears
Secateurs
Grass-shears
Loppers
Tree Lopper
Tree care
Illumination, Ambiance
Battery-shears
Shredders
Saws
Grass-Trimmers
Reel-mowers
Spreaders / Portax
Irrigation
Scarifiers / Aerators
Mowers
Accu
Petrol
Electro
Without drive up to 38 cm
Without drive from 40 cm on
series 2
series 4
series 6
Concept
Premio
Power Edition
Esprit
Others
Compact Plus
Compact plus 40 E
Compact plus Power Edition 40 E
Data Sheet
Chassis
Axle, Wheels
Handlebar, Switch
Motor, Blade
grass collector
Compact plus Power Edition 40 E
Drive
Ride-on Mowers
Petrol engines
Optional extras
Terms and Conditions
(C) by motoruf