back to
>
Petrol engines
>
Tecumseh
>
Centura
>
Centura 45 E
>
Motor Centura
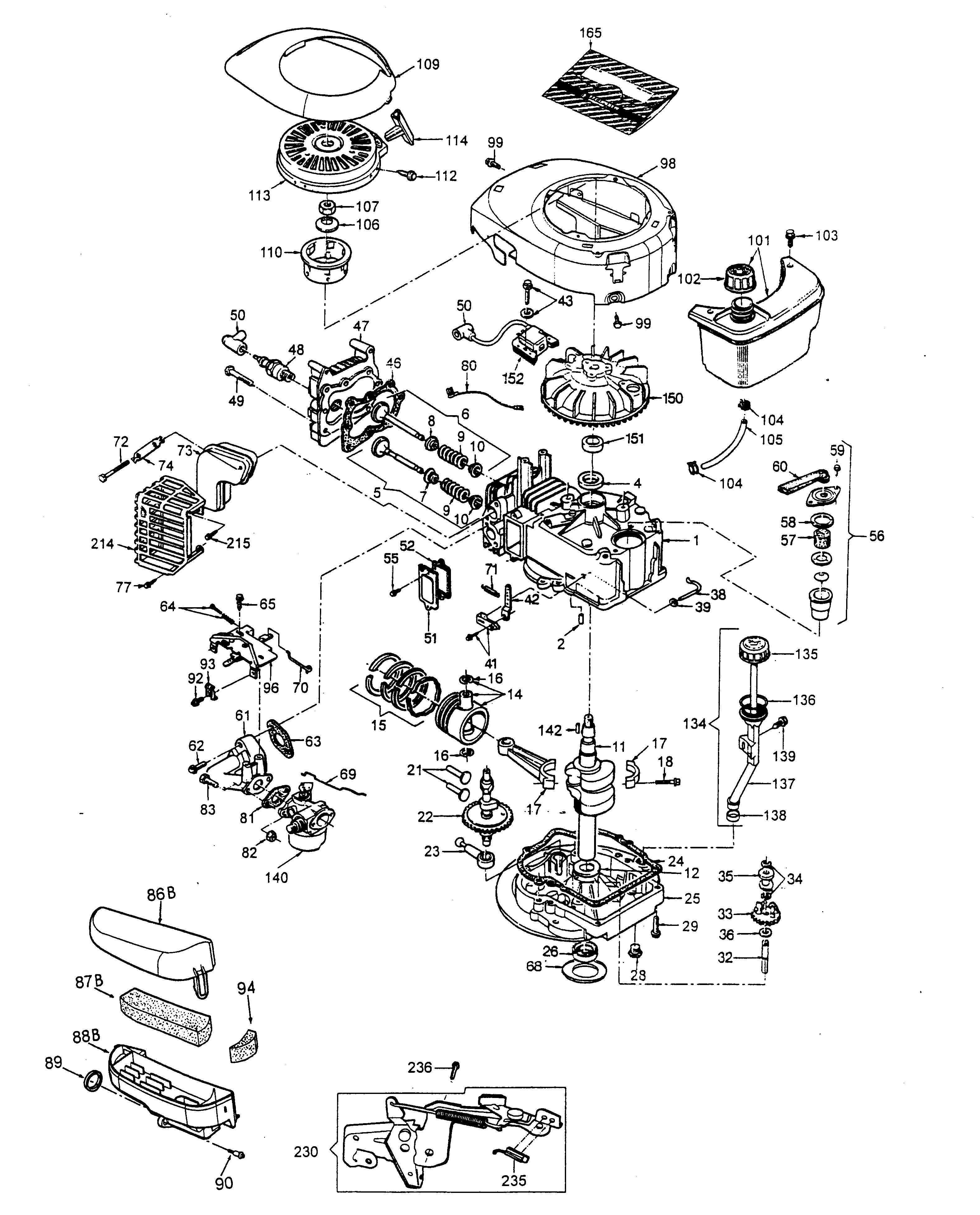
Spare Parts Lists for Wolf Petrol engines Motor Centura
pos.
decription
spare part number
1
Cylinder
2037 060
2
Pin-Counterweight
1032 201
4
Seal-Governor Shaft
1005 202
5
Intake Valve
1032 057
6
Exhaust Valve
2085 056
7
Oil Seal
2031 215
9
Valve-Spring
2031 113
10
Valve
1005 209
11
Crankshaft
2085 200
12
Thrust Bearing
2025 208
14
Piston + Bolt
2037 061
15
Piston Ring Set
2037 062
16
Retainer-E Ring
1032 103
17
Pod-Connecting
2036 202
18
Screw
2036 201
21
Bolt
2031 114
22
Camshaft
2037 100
23
Pump Oil
2026 206
24
Seal
1032 223
25
Flange
2027 201
26
Oil Seal
1005 217
28
Oil Drain Plug
2030 209
29
Screw
1038 209
32
Govenor Shaft
1032 225
33
Governor Gear
1032 230
34
Washer Spring
1032 231
35
Governor Spool
1032 232
36
Washer
2026 205
38
Govenor Shaft
2026 208
39
Washer
1032 236
41
Lever
2031 117
42
Govenor Lever
2085 202
43
Screw
2085 222
46
Seal
1005 106
47
Head-Cylinder
2028 100
48
Plug-Spark
2037 101
49
Screw
2030 203
50
Spark Plug Socket
2085 301
51
Valve Cover
2087 301
52
Seal
1032 306
55
Screw
2031 201
56
Breather
2031 531
57
Breather element
2087 303
58
Seal
2085 309
59
Screw
2085 310
60
Breather Tube
2031 532
61
Intake Pipe
2037 102
62
Screw
2085 404
63
Seal
2031 221
64
Adjusting Screw Set
2037 103
65
Screw
2085 310
69
Joint
2085 214
70
Joint
2085 215
71
Pin-Counterweight
2031 120
72
Screw
2030 200
73
Muffler
2037 063
74
Holding Plate
2025 209
77
Screw
2085 310
80
Harness-Alternator
2031 121
81
Seal
1037 400
82
Nut
2085 403
83
Screw
2031 202
86B
Air Filter Cover
2037 300
87B
Filter Element
2037 301
88B
Air Cleaner Case
2037 302
89
Filter Base Gasket
2037 303
90
Screw
2037 104
92
Screw
2085 404
93
Arm
1038 402
94
Breather Element
2037 105
96
Carburetor plate
2034 150
98
Blower Housing
2037 304
99
Screw
1032 315
101
Fuel Tank
2031 057
102
Fuel Cap
2085 500
103
Screw
2026 215
104
Clip
2030 501
105
Line-Fuel
2026 500
106
Washer
2026 606
107
Nut
2026 607
109
Ring
2037 106
110
Cup-Flywheel
2035 601
112
Screw
2085 614
113
Starter-Rewind
2034 011
114
Handle
2030 601
134
Oil Filler Assy.
2031 075
135
Oil Dipstick Gasket
2031 255
136
Seal
2031 452
137
Tube-Dipstick
2031 250
138
Seal
2027 208
139
Screw
2026 215
140
Carburetor
2037 064
142
Key-Pulley
2030 201
150
Flywheel
2029 303
151
Spacer Block
2085 304
152
Armature-Magneto
2037 065
165
Seal Set
2031 058
214
Muffler Guard
2037 107
215
Screw
2031 207
230
Brake Leverage
2031 124
235
Switch-Key
2031 125
236
Screw
2037 108
Lists
Wolf
Handtools
Hedge-shears
Secateurs
Grass-shears
Loppers
Tree Lopper
Tree care
Illumination, Ambiance
Battery-shears
Shredders
Saws
Grass-Trimmers
Reel-mowers
Spreaders / Portax
Irrigation
Scarifiers / Aerators
Mowers
Ride-on Mowers
Petrol engines
Tecumseh
Prisma
Centura
Centura 50 DX
Centura 40 S
Centura 45 E
Motor Centura
Carburetor
Centura 55 LX KAT E-62101
Centura 65 SV
Centura 65 OHV
Futura
Synergy
Vantage
VLV
Briggs & Stratton
Honda
Kawasaki
Optional extras
Terms and Conditions
(C) by motoruf