back to
>
Battery-shears
>
Accu
>
Accu 80
>
Rotating head, Blade, Motor
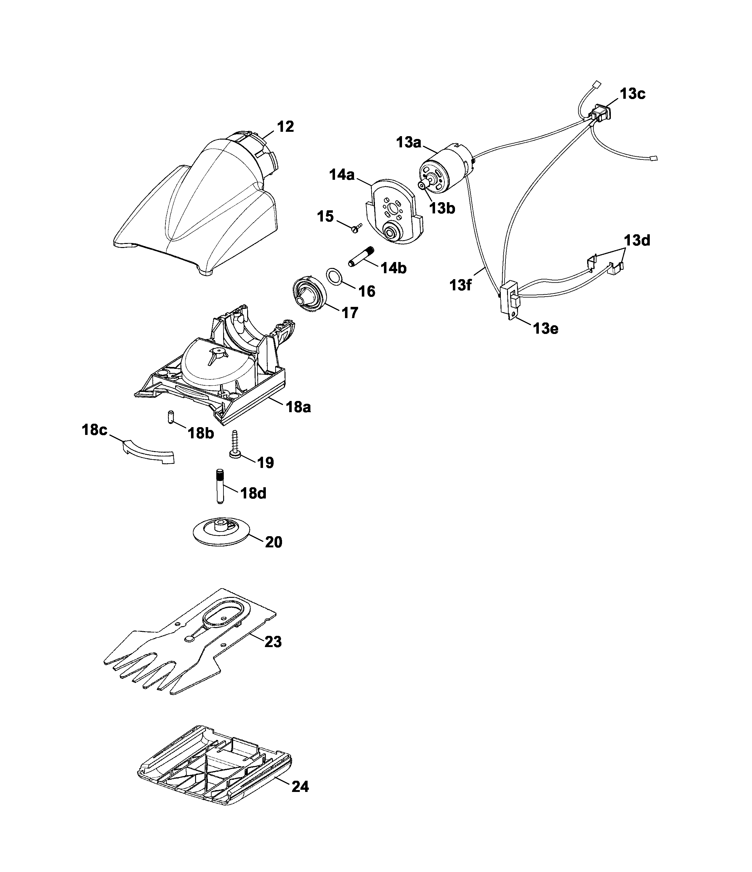
Spare Parts Lists for Wolf Battery-shears Rotating head, Blade, Motor
pos.
decription
spare part number
12
cover
7086 332
13a
Motor
1072 000
13b
gear, motor
7086 112
13f
Cable Form
7086 059
***
Motor
7084 026
14a
Motor Support
7086 314
14b
axis, gear
7086 114
***
Motor Support Compl.
7086 910
15
Cheese Head Screw
0012 229
16
Washer 10 Dia.+16 Dia.+0,3
0017 042
17
Driven Gear I4 P00038119
7086 313
18a
Gearbox Casing
7086 309
18b
Bolt
0018 090
18c
Sealing Lip
7086 318
18d
axis, gear
7086 114
***
Gearbox Casing
7086 911
19
Screw
0012 625
20
Plate
7086 312
23
Replac. Blade Accu 8 Em
7084 095
24
Blade Cover
7086 311
***
Battery Charger (6.42Bai)
7086 078
***
Instruction Manual
0054 454
Lists
Wolf
Handtools
Hedge-shears
Secateurs
Grass-shears
Loppers
Tree Lopper
Tree care
Illumination, Ambiance
Battery-shears
Accu
Accu 45
Accu 60
Accu 75
Accu BS 60
Accu BS 45
Accu 45
Accu 45 Classic
Accu 60
Accu 60 Comfort
Accu 75
Accu 75 Professional
Accu BS 60
Accu BS 60 Comfort
Accu BS 60
Accu BS 45
Accu 40 Standard
Accu 30
Accu 40
Accu BS 45
Accu BS 50
Accu 45
Accu 45 Classic
Accu 45
Accu 60
Accu 60 Comfort
Accu 75
Accu 75 Professional
Accu BS 60
Accu BS 60 Comfort
Accu BS 60
Accu BS 60 Comfort
Accu BS 60
Accu 60
Accu 60
Accu 60
Accu 80
Data Sheet
Case, Switch, Wheels
Rotating head, Blade, Motor
AC-TS Vario Handle
Accu 80
Accu 100
Accu 100
Accu BS 80
SP / SB
Shredders
Saws
Grass-Trimmers
Reel-mowers
Spreaders / Portax
Irrigation
Scarifiers / Aerators
Mowers
Ride-on Mowers
Petrol engines
Optional extras
Terms and Conditions
(C) by motoruf