back to
>
Shredders
>
Universal
>
SD 160 E
>
SD 160 E
Spare Parts Lists for Wolf Shredders SD 160 E
spare parts list 1
spare parts list 2
pos.
decription
spare part number
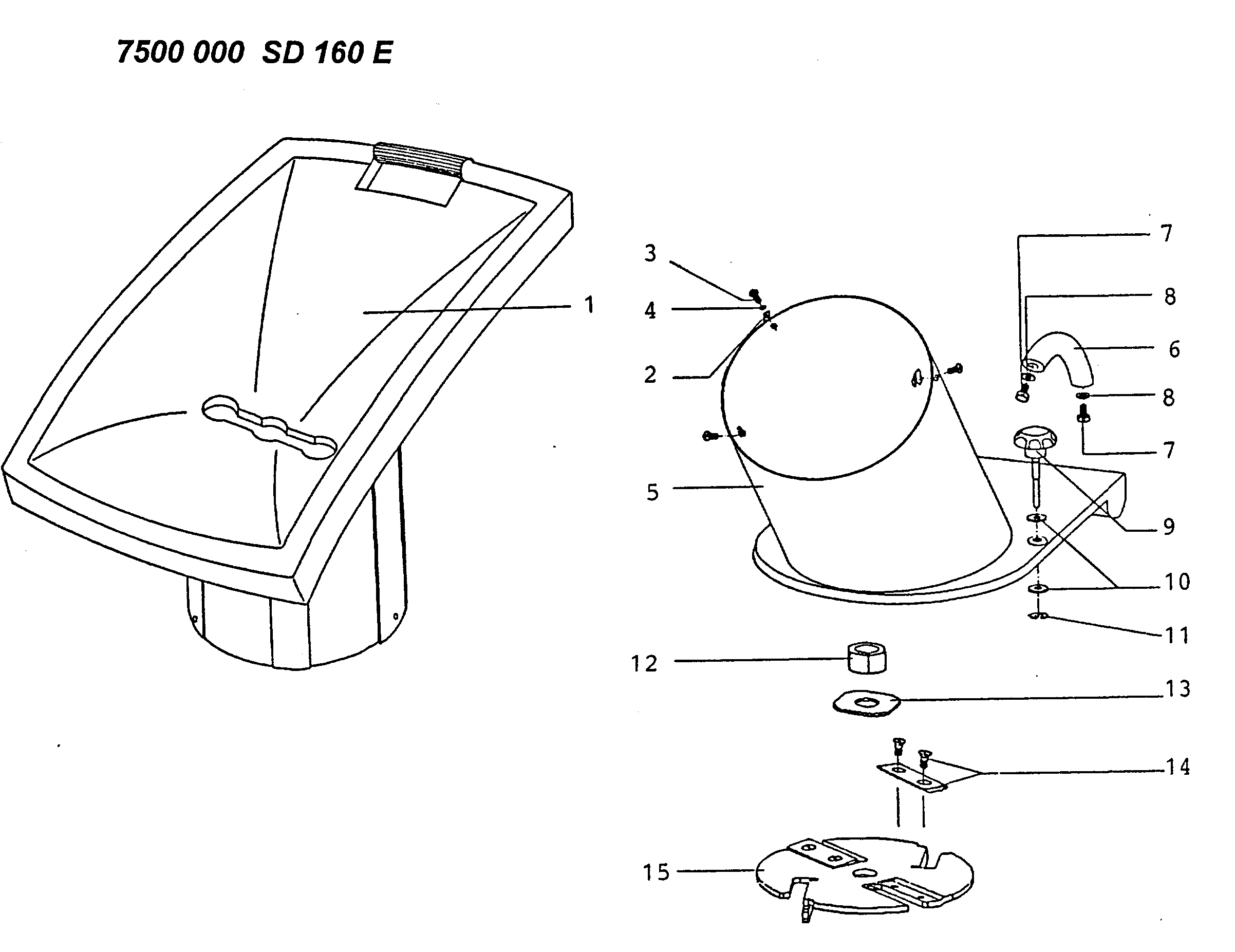
1
Hopper
7500 010
2
Clips-Nut-Holder M5
7500 107
3
Bolt (Shredders)
7500 106
4
Washer A5,3 Din 125-St
0017 122
5
Housing, Upper
7500 110
6
Handle
7500 303
7
Hex. Screw M6X10 Din 933
0010 373
8
Washer Spring
0017 908
9
Hand Wheel Release
7500 105
10
Washer
0017 289
11
Circlip
0022 408
****
Screw
7500 011
12
Hexagon Nut M20
7500 100
13
Distance Plate
7500 115
14
Blade Set Sm-A
7700 070
15
Blade Support Compl.
7500 040
****
Bearing shield with brake pad
7500 120
****
Bearing shield
7500 121
****
Flange
7500 122
****
Brake
7500 123
pos.
decription
spare part number
16
V-Ring V-28S
7500 102
17
Self-Locking Screw M8X12
7500 104
18
Shim Ring 20X28X1
7500 101
18
Washer
7500 109
19
Spacing Tube
7500 116
20
Oval Head Screw
7500 108
21
Flat Head Bolt
7500 103
22
Housing Base Plate
7500 111
23
Leg Supportright (Sd160E)
7500 112
24
Leg Supportleft (Sd160E)
7500 113
25
Leg Supportrear (Sd160E)
7500 114
26
Hex. Nut
0016 310
27
Cheese Head Screw M5X20
0011 312
28
Motor
7500 060
29
Condenser
7500 130
30
Foot Support Sd160/180
7500 302
31
Motor Housing Ass'Ysd180E
7500 301
31
Motor cover
7500 305
****
Conncetor insert
7500 304
Lists
Wolf
Handtools
Hedge-shears
Secateurs
Grass-shears
Loppers
Tree Lopper
Tree care
Illumination, Ambiance
Battery-shears
Shredders
Universal
USD 240 E
SD 160 E
Data Cheet
SD 160 E
SD 180 E
SD 220 E
SD 200 E
SD 240 E
SD 200 E
USD 240 E
Low Noise
Saws
Grass-Trimmers
Reel-mowers
Spreaders / Portax
Irrigation
Scarifiers / Aerators
Mowers
Ride-on Mowers
Petrol engines
Optional extras
Terms and Conditions
(C) by motoruf