back to
>
Ride-on Mowers
>
Scooter
>
SV
>
Scooter SV 4
>
cutter bar
Spare Parts Lists for Wolf Ride-on Mowers cutter bar
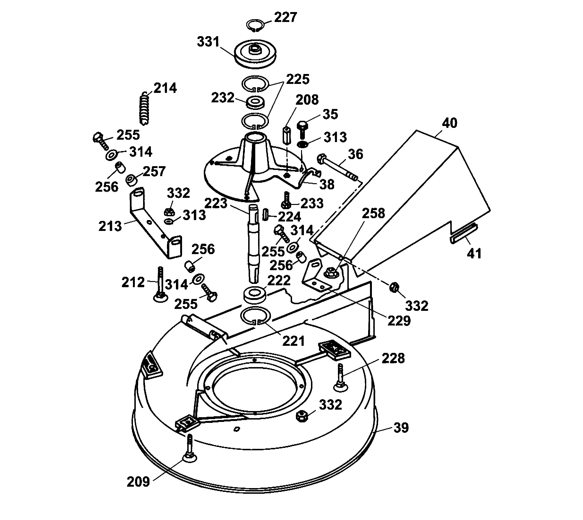
pos.
decription
spare part number
35
Screw
0010 365
36
Screw
0010 341
38
Flange
6155 140
39
Case
6155 436
40
Chute
6150 424
41
Header
6150 432
208
Shell
6155 156
209
Screw
0013 634
212
Screw
0013 645
213
U-Profile
6155 138
214
Tension Spring
6150 168
221
Retainer-E Ring
0021 052
222
Grooved Ball Bearing
0023 225
223
Blade Shaft
6155 173
223
balde shaft (OHV3/OHV3 M)
6995 479
225
Retainer-E Ring
0021 115
231
Feather Key
0028 774
313
Washer
0017 121
227
Retainer-E Ring
0021 056
228
Screw
0013 641
229
Carburettor Gasket/Air Baffle
6155 136
232
Grooved Ball Bearing
0023 224
233
Screw
0010 385
255
Hex. Screw M8X35
0010 336
256
Plastic Bush
6155 476
257
Brass Bush
6155 135
258
Hex. Nut M6 Din 6926
0016 386
314
Washer
0017 291
331
Pulley-Camshaft
6155 131
332
Nut
0016 311
416
Spring
6150 447
Lists
Wolf
Handtools
Hedge-shears
Secateurs
Grass-shears
Loppers
Tree Lopper
Tree care
Illumination, Ambiance
Battery-shears
Shredders
Saws
Grass-Trimmers
Reel-mowers
Spreaders / Portax
Irrigation
Scarifiers / Aerators
Mowers
Ride-on Mowers
Scooter
SV
Scooter SV 4
Scooter SV 4
Scooter SV 4
Scooter SV 4
Scooter SV 4
Data Sheet
upper frame, steering mechanism
lower frame, height-adjustment
drive, running gear
blade drive
clutch, blade SV4
cutter bar
front panel, covers
rear panel, seat
grass collector, rear flap
cable form SV
VLV 60
Scooter SV 4
Scooter SV 4
OHV
Moto Verte
Gear
Cart
Trac
Petrol engines
Optional extras
Terms and Conditions
(C) by motoruf