back to
>
Petrol engines
>
Briggs & Stratton
>
Intek
>
Intek OHV
>
rocker covers, manifold
Spare Parts Lists for Wolf Petrol engines rocker covers, manifold
pos.
decription
spare part number
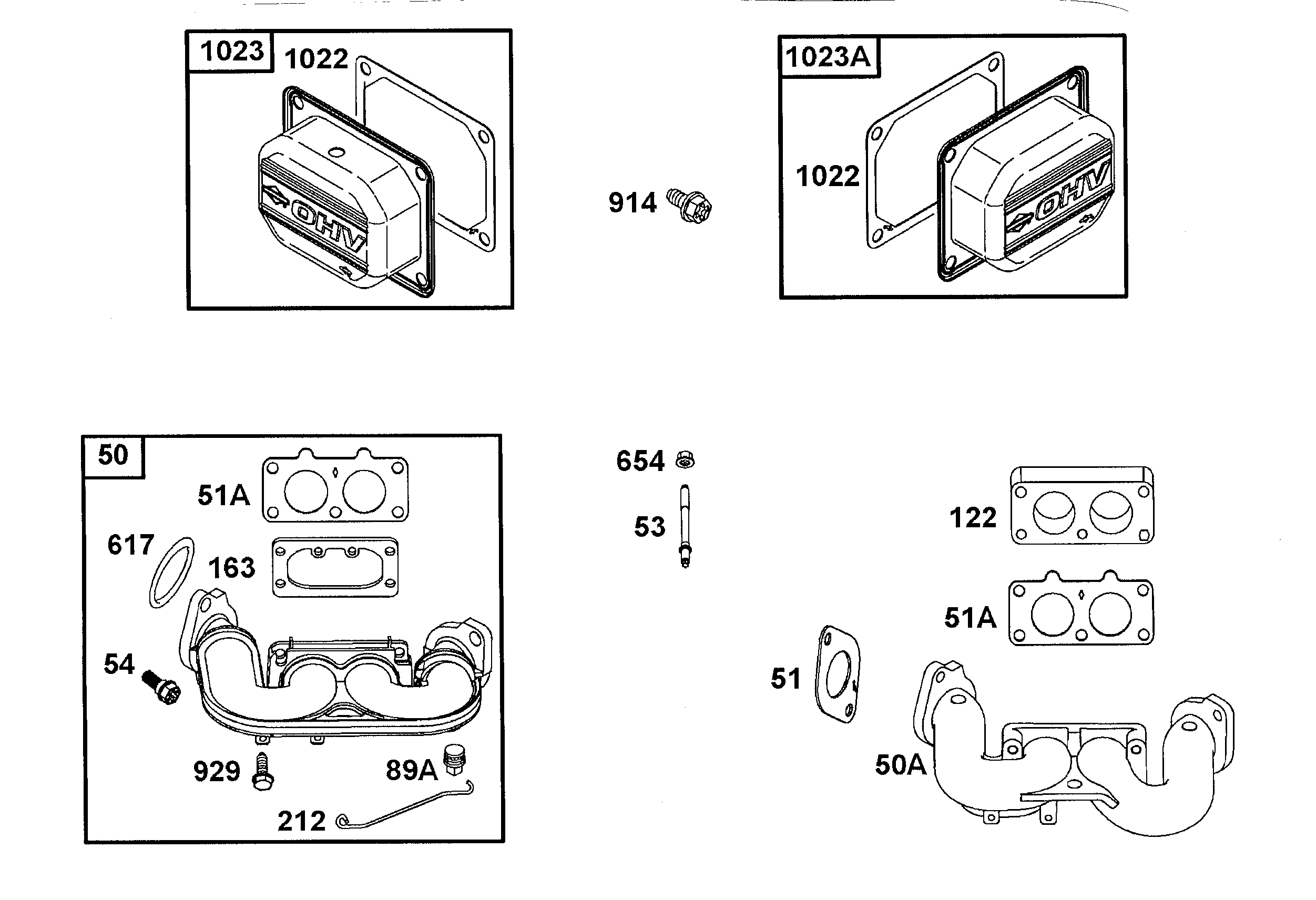
50
Manifold
1002 086
50A
Manifold
1002 151
51
Seal
1002 302
51A
Seal
1002 330
53
Bolt
1002 152
54
Screw
1002 407
122
Flange
1002 153
163
Seal
1002 304
212
Rod
1002 405
617
Seal
1002 305
654
Nut
1002 103
914
Screw
1002 157
929
Screw
1002 406
1022
Gasket Rocker Cover
1002 301
1023A
Cover-Rocker Cylinder 2
1002 023
1023
Cover-Rocker Cylinder 1
1002 022
Lists
Wolf
Handtools
Hedge-shears
Secateurs
Grass-shears
Loppers
Tree Lopper
Tree care
Illumination, Ambiance
Battery-shears
Shredders
Saws
Grass-Trimmers
Reel-mowers
Spreaders / Portax
Irrigation
Scarifiers / Aerators
Mowers
Ride-on Mowers
Petrol engines
Tecumseh
Briggs & Stratton
Quattro
Quantum
Diamond
Intek
Intek 60
Intek OHV
head assemblies
cylinder group, sump base
rocker covers, manifold
crankshaft, piston group, connecting rod, valve group
oil group, fuel pump group
carburetor
gasket set
controls
blower housing, air cleaner, air guides
flywheel, electrical
electric starter
Intek Edge SV
Intek Edge OHV
Intek Edge OHV
Sprint
Classic
Honda
Kawasaki
Optional extras
Terms and Conditions
(C) by motoruf