back to
>
Roth / TORO
>
Hand operated
>
Lawnmower
>
Electric
>
155
>
300000
>
Handle
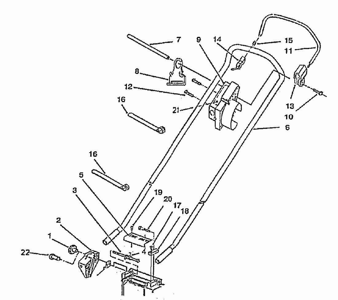
Spare Parts Lists for Toro Roth / TORO Handle
pos.
decription
spare part number
1
DREHKNOPF
18320
2
HOLMBEFESTIGUNG RECHTS
20216
20215
3
HOLMSCHRAUBE-RECHTS
18309
4
SCHENKELFEDER
18312
5
GRIFFDECKEL
18345
6
FUEHRUNGSHOLM KOMPL.
18854
7
VERBINDUNGSROHR F. 150
18962
8
ZUGENTLASTUNG
19286
9
SCHALTER KOMPL.
19531
10
18923
11
*** keine Bezeichnung vorhanden
19244
12
13605
13
HALTERUNG F. SCHALTBUEGEL
19095
14
LAGER F. SCHALTBUEGEL
18927
15
19285
16
KLETTBAND
19533
17
SCHRAUBE
18481
18
HALTELASCHE
18311
19
SCHRAUBE
18346
20
HOLMSCHRAUBE-LINKS
18310
21
HINWEISSCHILD -E MAEHER
19097
22
ROHRNIETE
20128
Lists
Toro
Roth / TORO
Ride-On Mowers
Hand operated
Sweeper
Snowthrower
Vac/Blower
Lawnmower
Grass Baggers
4-stroke SP
4-stroke
2-stroke SP
2-stroke
Electric
170
155
350000
340000
330000
320000
310000
300000
Bag
Handle
Rear Axle
Blade
Engine Assy.
Partslist
290000
150
140
134
125
105
104
103
102
Battery
Robin
Terms and Conditions
(C) by motoruf