back to
>
Petrol engines
>
Kawasaki
>
FA / FC
>
FA 76
>
Carburetor
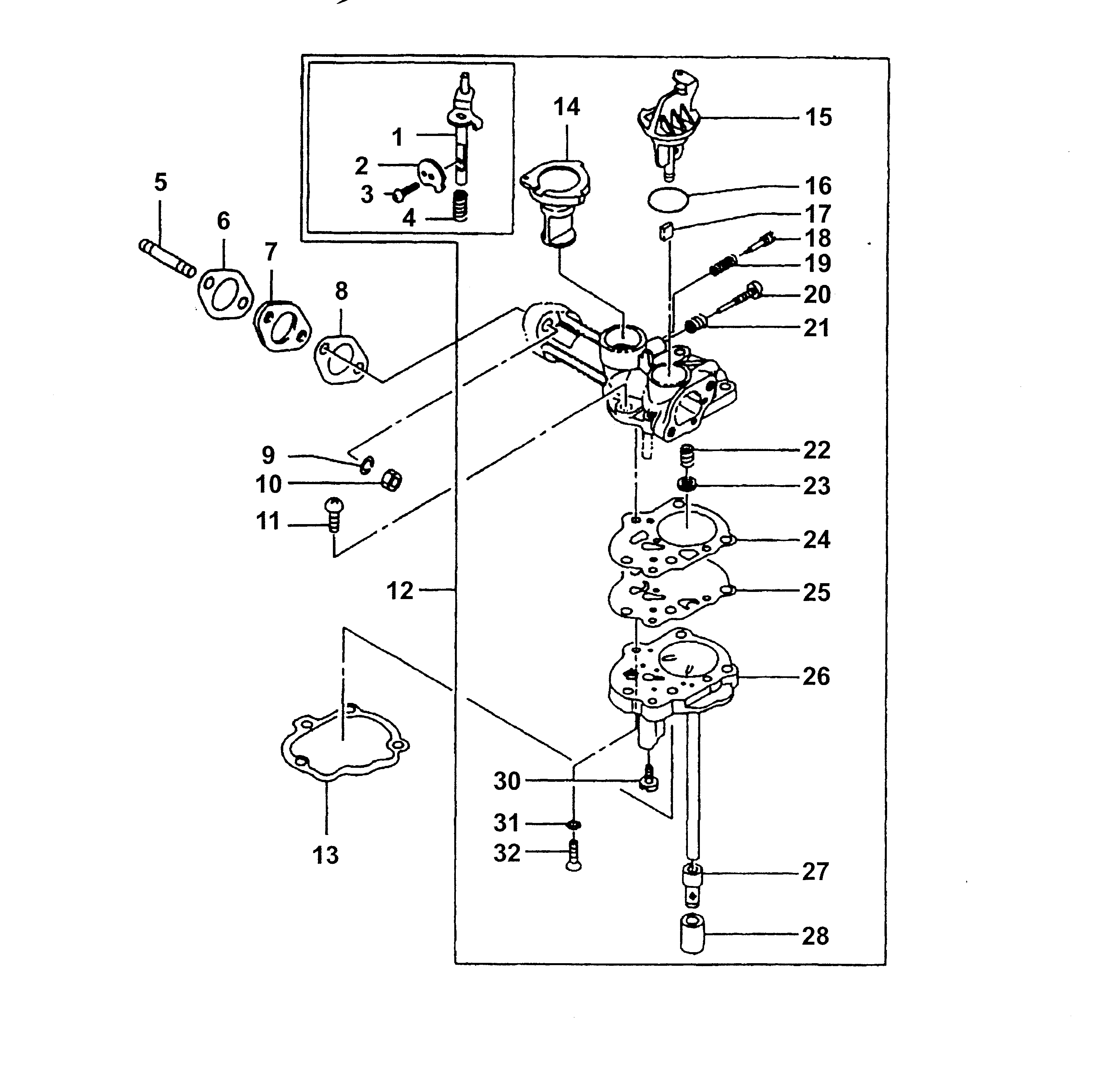
Spare Parts Lists for Wolf Petrol engines Carburetor
pos.
decription
spare part number
1
Choker Pole
2050418
2
Choker Valve
2055436
3
Screw
2055113
4
Spring
2055438
5
Stud Bolt
2055215
6
Seal
2050409
6
Gasket
2055216
7
Insulator
2050410
8
Seal
2050409
8
Gasket
2055216
9
Washer
2050504
10
Nut
2050503
11
Screw
2050412
12
Carburetor
2050052
12
Carburetor
2055052
13
Seal
2050423
13
Seal
2055217
14
Throttle Valve
2050413
15
Choker Pole
2055418
16
Seal-Dipstick Tube
2050419
17
Spacer Block
2050429
18
Adjusting Screw
2050414
19
Spring
2055 420
20
Screw-Throttle Stop
2050416
22
Spring
2050417
23
Spring Retainer
2050421
24
Seal
2050411
25
Diaphragm
2050422
26
Chamber-Mixing
2050430
27
Fuel Filter
2050427
28
Collar
2050428
30
Nozzle Needle
2050426
31
Washer
2050425
32
Screw
2050424
Lists
Wolf
Handtools
Hedge-shears
Secateurs
Grass-shears
Loppers
Tree Lopper
Tree care
Illumination, Ambiance
Battery-shears
Shredders
Saws
Grass-Trimmers
Reel-mowers
Spreaders / Portax
Irrigation
Scarifiers / Aerators
Mowers
Ride-on Mowers
Petrol engines
Tecumseh
Briggs & Stratton
Honda
Kawasaki
FA / FC
FA 76
FA 76
FA 76
FC 150 V
FC 150 V
FC 180 V
FA 76
Cylinder assembly, Sump bases
Crankshaft, Piston, Con-rod, Valves
Carburetor
Fuel tank
Controls electrical
Housing
Flywheel, Electrical
Air cleaner, Muffler
Recoil-starter
FC 150 V
FJ
Optional extras
Terms and Conditions
(C) by motoruf