back to
>
Petrol engines
>
Kawasaki
>
FA / FC
>
FA 76
>
Controls electrical
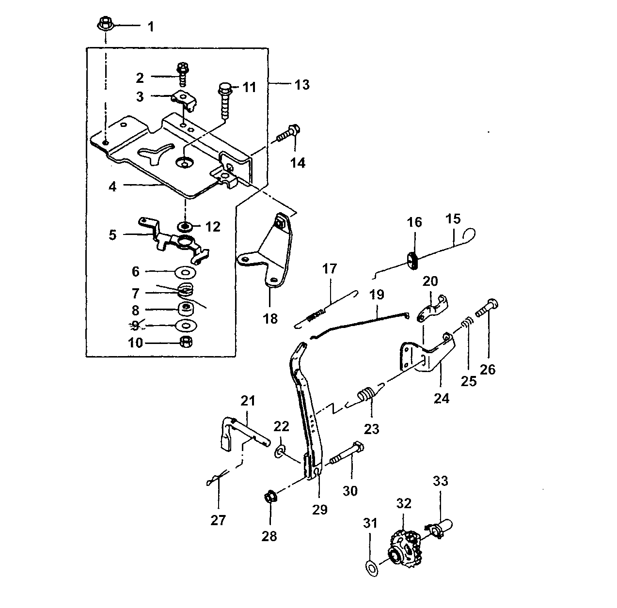
Spare Parts Lists for Wolf Petrol engines Controls electrical
pos.
decription
spare part number
1
Nut
2055340
2
Screw
2055333
3
Clamp
2055334
4
Bracket-Control
2055335
5
Lever
2055341
6
Washer
2055337
7
Spring
2055338
8
Spacer Block
2055339
10
Nut
2055503
11
Screw
2055332
12
Collar
2055336
13
Bracket-Control
2055051
14
Screw
2055331
15
Link-Choke
2055349
16
Guiding
2055350
17
Spring
2050434
18
Screw
2055330
19
Joint
2050433
20
Adjusting Lever
2050219
21
Arm-Pivot
2053307
22
Washer
2055504
23
Spring - Governor
2055435
24
Arm
2050218
25
Spring
2090323
26
Screw
2055221
27
Dowel Pin
2050308
28
Govenor Lever
2050304
30
Screw
2055505
31
Washer
2090341
32
Governor-Assy
2050327
33
Bush
2090340
Lists
Wolf
Handtools
Hedge-shears
Secateurs
Grass-shears
Loppers
Tree Lopper
Tree care
Illumination, Ambiance
Battery-shears
Shredders
Saws
Grass-Trimmers
Reel-mowers
Spreaders / Portax
Irrigation
Scarifiers / Aerators
Mowers
Ride-on Mowers
Petrol engines
Tecumseh
Briggs & Stratton
Honda
Kawasaki
FA / FC
FA 76
FA 76
FA 76
FC 150 V
FC 150 V
FC 180 V
FA 76
Cylinder assembly, Sump bases
Crankshaft, Piston, Con-rod, Valves
Carburetor
Fuel tank
Controls electrical
Housing
Flywheel, Electrical
Air cleaner, Muffler
Recoil-starter
FC 150 V
FJ
Optional extras
Terms and Conditions
(C) by motoruf