back to
>
Mowers
>
Petrol
>
Drive up to 42 cm
>
Power Edition
>
Power Edition 40 KA
>
Chassis
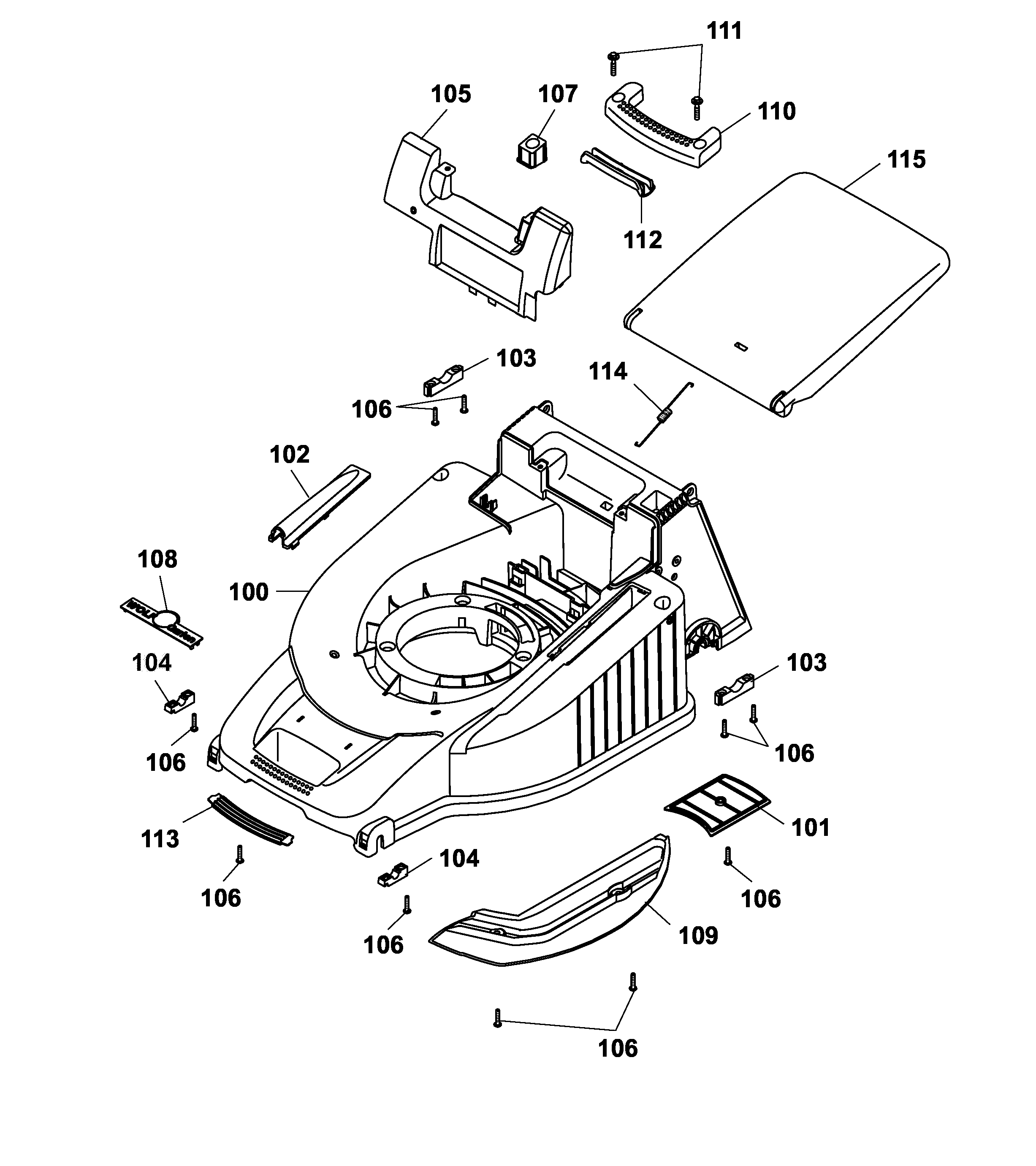
Spare Parts Lists for Wolf Mowers Chassis
pos.
decription
spare part number
100
Chassis
4005 320
101
V-Belt Cover
4961 324
102
Air conduction
4601 315
103
Shell, Rear
4961 313
104
Front Support Shell
4961 312
105
Chassis Cover
4001 310
106
Screw
0012 631
107
Button
4961 304
108
Wolf-Garten - Label
0051 115
109
Wind Tunnel Cover
4001 311
110
Rear Carrying Handle
4601 303
111
Screw
0012 639
112
Rear Handle Spill
4601 308
113
Front Handle Spill
4601 309
114
Tension Spring
4961 108
115
Rear Flap
4628 322
Lists
Wolf
Handtools
Hedge-shears
Secateurs
Grass-shears
Loppers
Tree Lopper
Tree care
Illumination, Ambiance
Battery-shears
Shredders
Saws
Grass-Trimmers
Reel-mowers
Spreaders / Portax
Irrigation
Scarifiers / Aerators
Mowers
Accu
Petrol
Without drive up to 42 cm
Without drive from 43 cm on
Drive up to 42 cm
series 2
series 6
Premio
Power Edition
Power Edition 40 KA
Data sheet
Chassis
Axle, Wheels, Height-adjustment
Handlebar compl.
Motor, Blade
grass collector
MK 40 (4011 075) Mulchkit
FJ 180 V
Power Edition 40 TMA
Esprit
Others
Compact Plus
Drive from 43 cm on
Electric start / Touch 'n Mow
Electro
Ride-on Mowers
Petrol engines
Optional extras
Terms and Conditions
(C) by motoruf