back to
>
Petrol engines
>
Briggs & Stratton
>
Intek
>
Intek Edge SV
>
Rewind - starter
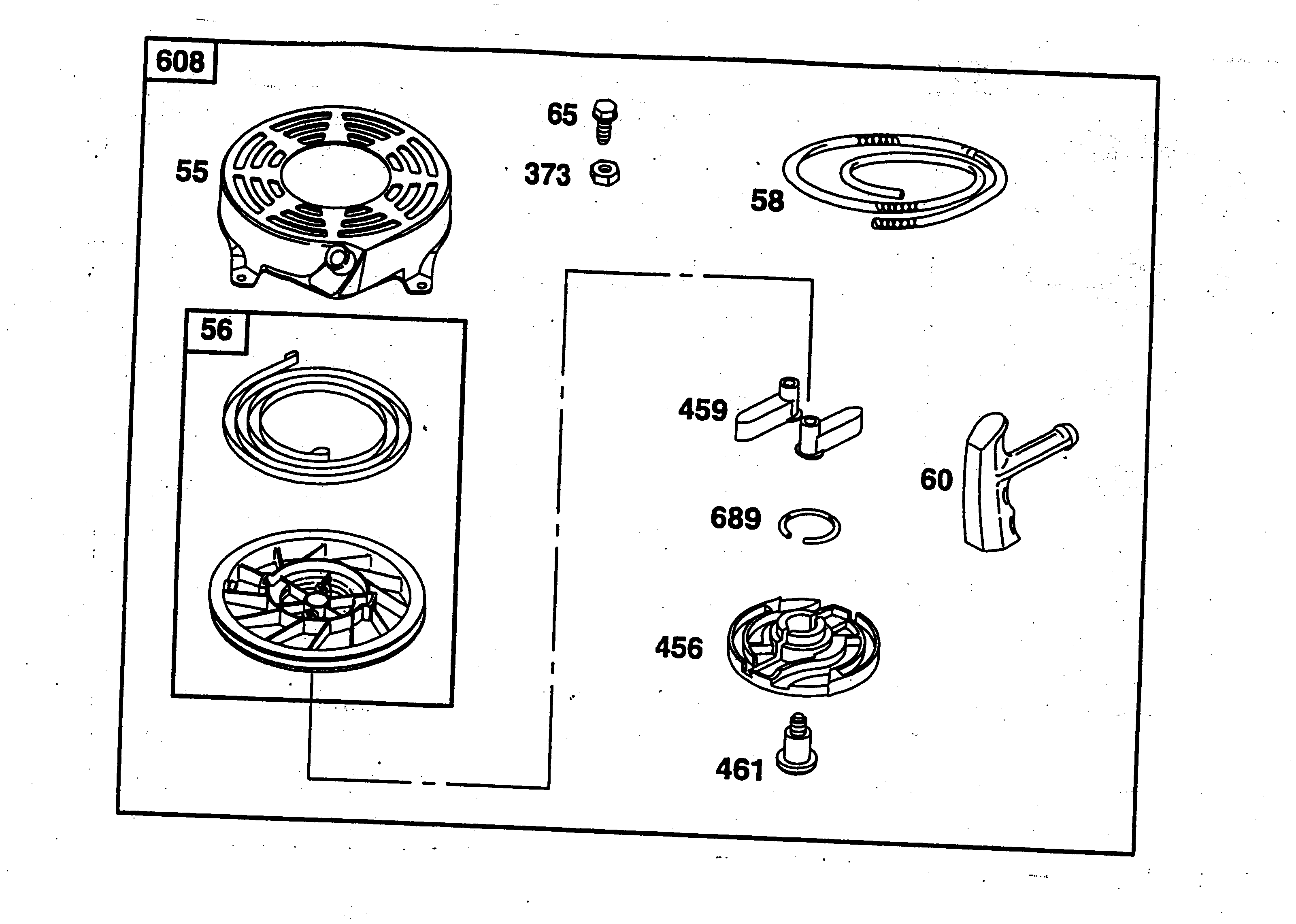
Spare Parts Lists for Wolf Petrol engines Rewind - starter
pos.
decription
spare part number
55
Housing-Rewind Starter
2069 121
56
Pulley-Starter
2057 184
58
Rope - Starter
2063 604
60
Grip - Starter Rope
2069 300
65
Screw
2057 110
373
Nut
2057 100
456
Spring Retainer
2069 301
459
Arm
2069 302
461
Screw
2069 124
608
Starter-Rewind
2069 012
689
Speedfix Retainer
2069 125
Lists
Wolf
Handtools
Hedge-shears
Secateurs
Grass-shears
Loppers
Tree Lopper
Tree care
Illumination, Ambiance
Battery-shears
Shredders
Saws
Grass-Trimmers
Reel-mowers
Spreaders / Portax
Irrigation
Scarifiers / Aerators
Mowers
Ride-on Mowers
Petrol engines
Tecumseh
Briggs & Stratton
Quattro
Quantum
Diamond
Intek
Intek 60
Intek OHV
Intek Edge SV
Cylinder assembly
Crankshaft, Piston assembly
Sump-Engine
Carburetor
Control, Air cleaner
Flywheel, Blower housing, Electrical
Covering cap, Fuel tank, Muffler
Rewind - starter
Motor - starter
Kit - set
Intek Edge OHV
Intek Edge OHV
Sprint
Classic
Honda
Kawasaki
Optional extras
Terms and Conditions
(C) by motoruf