back to
>
Roth / TORO
>
Ride-On Mowers
>
Traktor
>
212-H
>
303/R2-12OE02
>
2000001
>
Body Assy.
Spare Parts Lists for Toro Roth / TORO Body Assy.
pos.
decription
spare part number
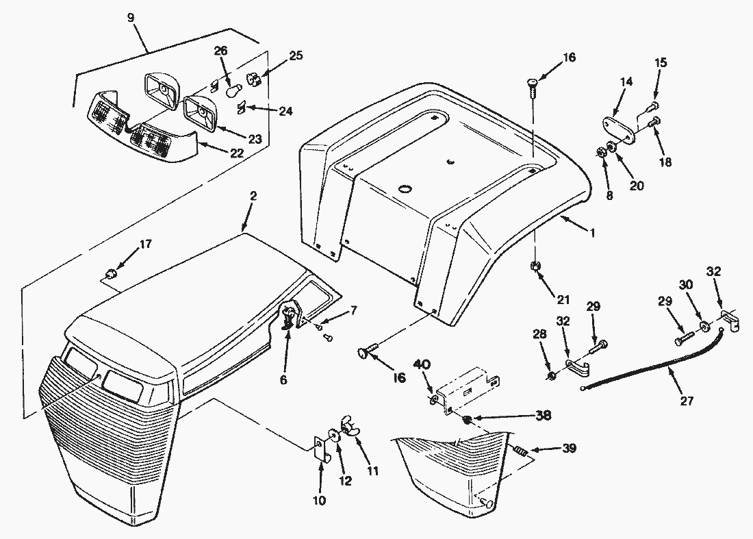
1
Fender
114389
2
Hood & Grill
79-3840
6
Handle w/Bracket (109237)
117344
7
Pop Rivet
117432
8
Hex Nut
3219-14
9
Head Light Bar (Includes Ref.
116591
10
Clip-J
111392
11
Nut-Wing
32103-19
12
Special Washer
103995
14
Reflector
108547
15
Poprivet
109193
16
Screw-Carriage
3230-23
17
Bushing
938031
18
Screw
910808
20
Washer-Lock
3253-17
21
Hex Nut
3217-6
22
Light Bar
116601
23
Light Pods
111684
24
Light Retainers
111685
25
Light Sockets
116262
26
Light Bulb
7228
27
Hood Lanyard Cable
115414
28
Nut-Hex
915740
29
Machine Hd. Screw
913111
30
Washer-Backing
112925
32
Clevis
115413
38
Bushing-Nyliner
5977
39
Spring
111536
40
Push Nut
79-2590
Lists
Toro
Roth / TORO
Ride-On Mowers
Traktor
264-6
246 HE
244-5
212-H
303/R2-12OE02
2000001
Decal & Misc. Parts Assy.
12HP Engine Carburetor Assy.
12HP Engine Starter Assy.
12HP Engine Flywheel & Cover Assy.
12HP Engine Governor Linkage & Cover Assy.
12HP Engine Air Cleaner Assy.
12HP Engine Ignition Assy.
12HP Engine Cylinder Head & Valves Assy.
12HP Engine Oil Base & Pump Assy.
12HP Engine Crankshaft & Camshaft Assy.
12HP Engine Cylinder Block Assy.
Engine Fuel & Exhaust Assy.
Engine Pulley & PTO Clutch Assy.
Brake & Idler Assy. (212-H)
Transmission Linkage Assy. (212-H)
Sweeper P.T.O. Assy. (212-H)
Transmission Assy. (210-H & 212-H)
Brake & Idler Assy. (212-5)
Sweeper P.T.O. Assy. (212-5)
Peerless Transmission Model No. 930-020* (212-5)
Transmission Assy. (212-5)
Wheel & Tire Assy.
Front Axle & Steering Assy.
Electrical System Assy.
Frame Assy.
Seat Assy.
Body Assy.
303/R2-12OE01
212-5
17-44 HXLE
16-44 HXL
16-38 HXL
16-38 XLE
15-44 HXL
15-38 HXL
14-38 HXL
14-38 XL
13-38 HXL
13-38 XL
13-32 XLE
12-38 HXL
12-38 XL
12-32 XL
264 H
265 H
267 H
268 H
270 H
520 xi
520 Lxi
523 Dxi
Rider
Mower decks
Attachements
Hand operated
Robin
Terms and Conditions
(C) by motoruf