back to
>
Roth / TORO
>
Ride-On Mowers
>
Traktor
>
523 Dxi
>
522/73551
>
8900001
>
Lower Power Steering Assy.
Spare Parts Lists for Toro Roth / TORO Lower Power Steering Assy.
pos.
decription
spare part number
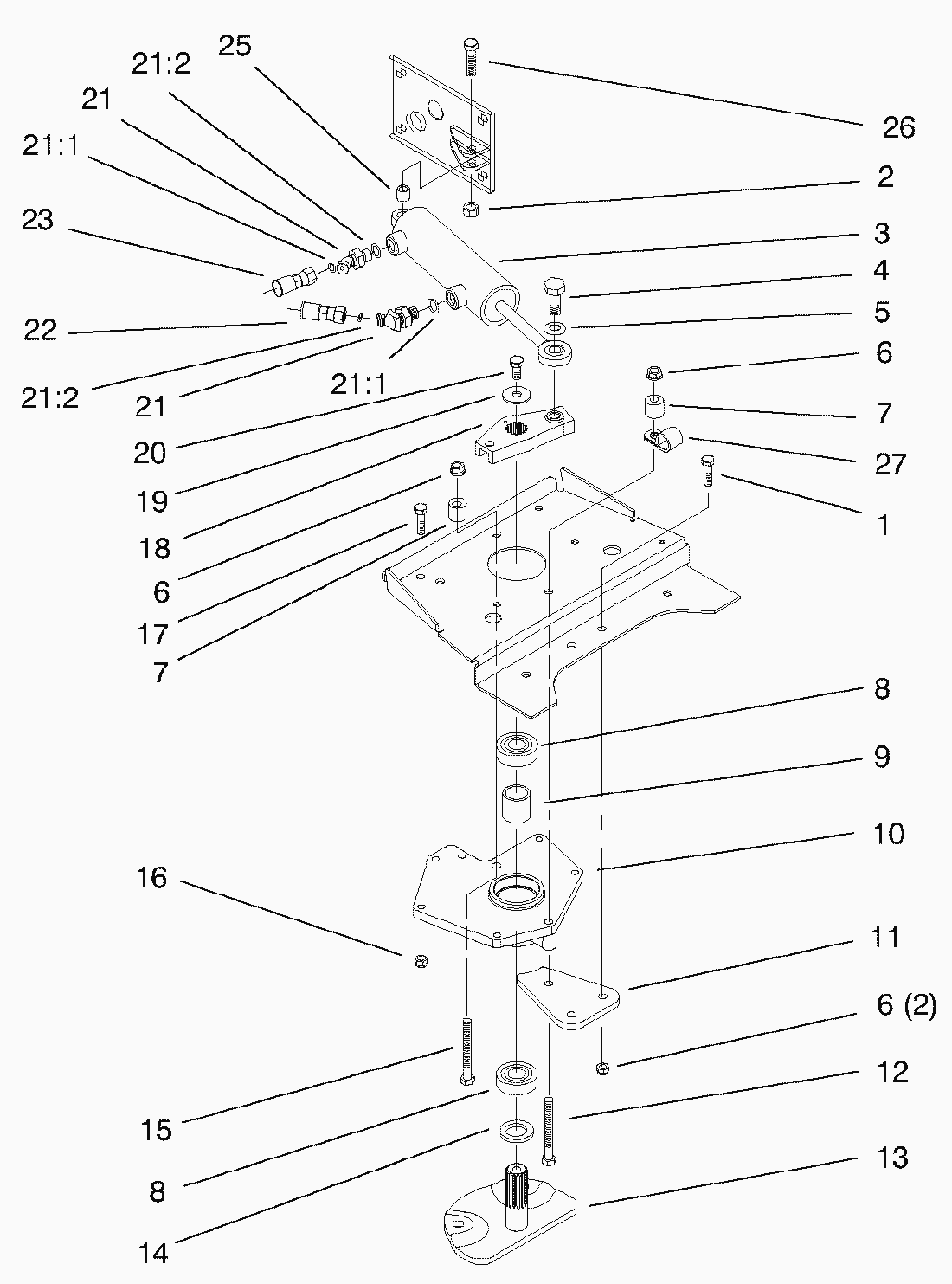
1
Screw-Cap Hex Hd.
323-7
2
Nut-Lock
108881
3
Cylinder-Hydraulic
95-3965
4
Screw-HH
94-7976
5
Washer-Power Steering
98-3087
6
Locknut
3296-39
7
Spacer-Stop
94-7819
8
Bearing-Ball
251-82
9
Spacer
94-2219
10
Housing-Power Steering
94-7581
11
Plate-Power Steering
94-7820-03
12
Screw-HH
323-15
13
Arm-Lower
94-2142-03
14
Washer-Flat
3256-42
15
Capscrew
323-10
16
MUTTER
3296-29
17
Capscrew
322-6
18
Arm-Upper
94-7556
19
Washer-Special
2844
20
Screw-Thread Locking
98-3052
21
Fitting-Hydraulic 45 DEG
95-4136
211
O-Ring
237-42
212
O-Ring
237-21
22
Hose ASM
94-7946
23
Hose ASM
94-7947
25
Spacer
94-7907
26
Capscrew
323-8
27
Clamp-R
98-2358
Lists
Toro
Roth / TORO
Ride-On Mowers
Traktor
264-6
246 HE
244-5
212-H
212-5
17-44 HXLE
16-44 HXL
16-38 HXL
16-38 XLE
15-44 HXL
15-38 HXL
14-38 HXL
14-38 XL
13-38 HXL
13-38 XL
13-32 XLE
12-38 HXL
12-38 XL
12-32 XL
264 H
265 H
267 H
268 H
270 H
520 xi
520 Lxi
523 Dxi
522/73551
8900001
Bumper & Hood Support Assy.
Steering Tower & Fuel Tank Support Assy.
Attach A Matic & Hitch Assy.
Lower Power Steering Assy.
Power Steering & Tilt Assy.
Tie Rods, Spindle, & Front Axle Assy.
Hydro Transaxle Assy.
Hydro Transaxle Assy. (Cont.)
Drive Shaft Assy.
Hydro Lift Lower Assy.
Hydro Lift Upper Assy.
Hood & HeadLight Assy.
Grill & Side Panels Assy.
Dash Assy.
Fender, Footrest, & Seat Assy.
Fender, Footrest, & Seat Assy. (Cont.)
Slow in Turns Rear Assy.
Hi-Lo Shift Assy.
Upper Parking Brake Assy.
Hydro Controls Assy.
Slow in Turns Front Assy.
Lower Parking Brake Assy.
Cruise Control Assy.
Fuel System Assy.
Wheel Assy.
Liquid Cooled Diesel Engine Assy.
Liquid Cooled Diesel Engine Assy. (Cont.)
Electrical Assy.
Engine Assy.
522/73590
Rider
Mower decks
Attachements
Hand operated
Robin
Terms and Conditions
(C) by motoruf